精密液胀夹具助推齿轮智造升级(图文教程)

    《中国制造2025》提出实施建设中国制造强国的发展战略,装备制造业作为战略性、基础性产业是各行业产业升级、技术进步的重要保障和国家综合实力的集中体现。齿轮作为重大装备的核心和基础零部件,其关系到重大装备和主机的性能、水平以及可靠性,是制约重大装备发展的瓶颈。中国要成为装备制造业强国,必先成为齿轮等基础零部件制造强国。在《中国齿轮行业“十三五”发展规划纲要》中也提出齿轮产业要由“齿轮制造”升级为“齿轮智造”和“齿轮创造”,实现由大到强的转变。在齿轮加工中,高精度、高可靠性及高效自动化装夹定位齿轮则是“齿轮智造”升级的重要前提。

    传统的机械式夹具由于精度不高,且不易实现自动化,已无法满足齿轮加工行业高效率、高精度及高可靠性要求。精密液胀夹具具有重复夹持精度高、夹紧力大、精度保持性好、寿命长以及使用方便等一系列优点,是有效解决齿轮长寿命高效制造工艺、齿轮传动减振降噪等核心技术的基础,尤其是其能与机床配合实现自动化装夹,适用于齿轮加工的自动化生产线上,实现齿轮智能制造。因此,精密液胀夹具越来越多地被齿轮加工行业所选用。

    森泰英格公司从2007年研究生产液压刀柄至今,积累了丰富的等静压膨胀技术经验,为了满足智能制造、高效制造、高精度制造的用户需求,在精密液胀夹具被国外垄断的背景下,森泰英格公司成功设计、制造出广泛应用于工件及刀具高精度定位装夹内胀式、外胀式液胀夹具,具有减振防松、快速强力锁紧的端面膨胀式液压螺母等高端液胀夹具系列产品,替代了进口,缩短了交货期,降低了成本,并获得用户的普遍认可。

    精密液胀夹具与传统定义的液压夹具不同,液压夹具主要应用于CNC数控机床,通过液压元件代替机械零件实现对工件的定位、支撑和压紧;而液胀夹具则是采用静压膨胀技术,根据机床配置选择手动或自动加压机构对夹具进行加压,夹具型腔内部预存储的液压介质在加压机构作用下产生极大的压力,迫使薄壁变形元件在整个夹持范围内360°周向均匀弹性变形,实现对工件定位孔/轴的胀紧,且具有较高的夹持定位精度,大大提高了工件加工精度及质量稳定性。液胀夹具能同时实现工件定位和传递转矩,无需其他结构装置,给用户提供了良好可靠性及安全性。且可以通过选择变径套实现变径夹持,以响应柔性化生产要求,灵活的调整方式及快速的装夹,减少了换装时间,极大地提高了生产效率,降低成本。

    森泰英格公司根据客户的实际需求,为客户量身定制个性化液胀夹具方案,根据其夹持工件类型不同,可分为外胀式、内胀式及端面胀紧式液胀夹具。 

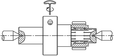
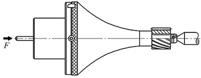
    森泰英格®外胀式液胀夹具通过内部液压介质加压后,心轴上的薄壁变形元件向外膨胀,消除与工件内孔之间的间隙,从而胀紧内孔,实现定位并保证工件径向及端面跳动均≤0.005mm。图1为用于齿轮磨削加工的外胀式液胀夹具,该夹具通过机床液压推杆推动夹具底部活塞顶杆,实现自动加压,并配合工业机器人实现工件自动化装夹,整个换装+加工时间≤30s,寿命高达10万次工件装夹;相比齿轮加工,齿轮工件的检测对其定位精度有着更高的要求,图2为用于齿轮检测的液胀心轴,该心轴在手动旋拧加压螺钉后,将齿轮内孔胀紧,实现心轴与工件基准孔精确无间隙定心和夹紧,其径向与端部跳动≤0.003mm。

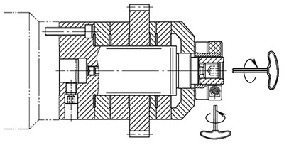
    森泰英格®内胀式液胀夹具其薄壁变形元件在静压膨胀作用下,向内孔收缩,与工件轴配合间隙不断缩小,最终将工件轴夹紧定位。图3为用于三联齿轮磨削加工的可自动上下料的内胀式液胀夹具,该夹具内设置了增压油缸,机床只需为夹具提供约2MPa的液压油作为动力即可自动夹紧工件,且该夹具还配置有压力指示机构,现场操作人员可不借助其他辅助条件来判断夹具运行情况,提高了操作的安全性;图4为用于压缩机转子磨削的手动液胀夹具,某企业在改造前采用四爪定心机械式夹具,每次装夹工件都需要对工件进行校正,效率极其低下,精度也不高。采用定制的液胀夹具之后,工件一次装夹径向及端面跳动均≤0.005mm,且精度稳定,极大地提高了生产效率和产品合格率。

    森泰英格®端面胀紧式液胀夹具——液压螺母主要应用于有较高压紧要求的紧固场合。图5所示为液压螺母,在使用时,将该螺母旋入螺杆上后,只需拧紧用于驱动加压活塞的螺钉,即可在螺母端面上提供极大的预紧力,因此液压螺母具有紧固可靠、省力的特点,即使在具有强烈振动冲击的工况下,液压螺母也具有防止松动功能。由于使用内置活塞加压,无需外接液压泵,因此其结构紧凑、使用方便、操作简单、使用成本低,且该液压螺母还带有压力指示器,方便用户选用合适的输出压力,也为用户对该液压强力锁紧螺母的安全、可靠使用提供判断依据;图6所示为剃齿刀磨削液胀夹具,该剃齿刀在磨削过程中对端面的垂直度有较高要求,因此在对剃刀内孔胀紧定心的同时,需对其端面进行压紧。该夹具采用液压螺母对其进行端面压紧,相对于普通螺母,液压螺母操作使用更方便,且锁紧力更强更均匀,更好地保证了磨削精度,该剃齿刀装夹精度径向及端面装夹跳动精度均达≤0.003mm。

精密液胀夹具助推齿轮智造升级(图文教程),精密液胀夹具助推齿轮智造升级,齿轮,第1张精密液胀夹具助推齿轮智造升级(图文教程),精密液胀夹具助推齿轮智造升级,齿轮,第2张

图1 外胀式液胀夹具

精密液胀夹具助推齿轮智造升级(图文教程),精密液胀夹具助推齿轮智造升级,齿轮,第3张精密液胀夹具助推齿轮智造升级(图文教程),精密液胀夹具助推齿轮智造升级,齿轮,第4张

图2 齿轮检测液胀心轴

精密液胀夹具助推齿轮智造升级(图文教程),精密液胀夹具助推齿轮智造升级,齿轮,第5张精密液胀夹具助推齿轮智造升级(图文教程),精密液胀夹具助推齿轮智造升级,齿轮,第6张

图3 内胀式液胀夹具

精密液胀夹具助推齿轮智造升级(图文教程),精密液胀夹具助推齿轮智造升级,齿轮,第7张精密液胀夹具助推齿轮智造升级(图文教程),精密液胀夹具助推齿轮智造升级,齿轮,第8张

图4 压缩机转子磨削液胀夹具

精密液胀夹具助推齿轮智造升级(图文教程),精密液胀夹具助推齿轮智造升级,齿轮,第9张

图5 液压螺母

精密液胀夹具助推齿轮智造升级(图文教程),精密液胀夹具助推齿轮智造升级,齿轮,第10张精密液胀夹具助推齿轮智造升级(图文教程),精密液胀夹具助推齿轮智造升级,齿轮,第11张

图6 剃齿刀磨削液胀夹具

    森泰英格以“引领高端刀具国产化”为目标,为用户提供用于高精度定位装夹的各类液胀夹具,为客户设计、生产非标定制产品,并为其提供与机械加工相关的全套技术服务,助推齿轮智造升级,努力为“中国制造2025”贡献力量。


 作者: 森泰英格(成都)数控刀具有限公司 杨华军 赖小林

免责声明:
1;所有标注为智造资料网zl.fbzzw.cn的内容均为本站所有,版权均属本站所有,若您需要引用、转载,必须注明来源及原文链接即可,如涉及大面积转载,请来信告知,获取《授权协议》。
2;本网站图片,文字之类版权申明,因为网站可以由注册用户自行上传图片或文字,本网站无法鉴别所上传图片或文字的知识版权,如果侵犯,请及时通知我们,本网站将在第一时间及时删除,相关侵权责任均由相应上传用户自行承担。
[complaint:内容投诉]
智造资料网打造智能制造3D图纸下载,在线视频,软件下载,在线问答综合平台 » 精密液胀夹具助推齿轮智造升级(图文教程)