塑料模具设计教程_8-4棒材挤出成型机头(图文教程)

    塑料棒材是实心的圆棒,由于其优异的物理性能,在制造行业被广泛应用,如制作塑料齿轮、轴承、螺栓、螺母等。如果生产批量较小,用机械加工法加工比较经济;在大批量生产时,可以采用挤出法生产。

    塑料棒材的原材料一般是工程塑料,如尼龙、聚甲醛、聚碳酸醋、ABS、聚砜、玻璃纤维增强塑料等。

8-4-1 棒材挤出机头的结构

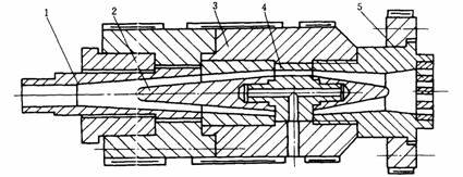
    图8-12所示是圆形棒材挤出机头的典型结构。棒材挤出机头的结构简单,与管材挤出机头基本相似,其区别是模腔中没有芯棒,只有分流器。使用分流器可以减少模腔内部的容积及增加塑料的受热面积,如果模腔内为无滞料区的流线型,也可以不设分流器。

塑料模具设计教程_8-4棒材挤出成型机头(图文教程),塑料模具设计教程_8-4棒材挤出成型机头,塑料模具,第1张

图8-12  棒材挤出成型机头

1-口模;2-分流器;3-机头体;4-分流器支架;5-过滤板

    由于棒材是实心的,截面积比管材大得多,因而机头阻力小,如增加机头压力,则可以得到密实的棒材。机头结构的设计方法与管材相同,其区别有以下几点:

(1)模腔内表面应光滑无滞料区,为了增加机头内的压力,机头内流道应具有阻流阀的作用。

(2)机头进口处的收缩角为30o~60o,收缩部分长度约为50~100mm。

(3)机头的出口处要制作成喇叭形状,以便于棒材中心熔融区能快速补料,喇叭口的扩张角不能过大,一般小于45o,否则会产生死角。

(4)定径套的长度为棒材直径尺寸的4~15倍,比管材的定型长度略长。

(5)模腔表面应光滑,粗糙度Ra<0.8 μm。

8-4-2 定径套的结构

    棒材的定径装置结构比较简单,与管材的定径装置相似,如图8-13所示。定径套装置的作用是使塑件不会因自重而产生弯曲变形,保证一定的表面质量。棒材挤出机头内压力较高,补料作用较好,为了减少棒材通过定径装置时的流动阻力,定径套内孔要制成一定的斜度(75:1)。

塑料模具设计教程_8-4棒材挤出成型机头(图文教程),塑料模具设计教程_8-4棒材挤出成型机头,塑料模具,第2张

图8-13  棒材定径装置

    定径套的材料一般使用铜制造,传热效果好。定径套的内径比棒材直径要大,即根据塑料的收缩率适当放大。由于棒材不需要在定径套内硬化成型,定径套的长度可根据需要适当选取。当棒材直径小于50mm时,定径套长度可取200~350mm;当棒材直径在50~100mm之间时,定径套长度可取300~500mm。

该文章所属专题:塑料模具设计教程

免责声明:
1;所有标注为智造资料网zl.fbzzw.cn的内容均为本站所有,版权均属本站所有,若您需要引用、转载,必须注明来源及原文链接即可,如涉及大面积转载,请来信告知,获取《授权协议》。
2;本网站图片,文字之类版权申明,因为网站可以由注册用户自行上传图片或文字,本网站无法鉴别所上传图片或文字的知识版权,如果侵犯,请及时通知我们,本网站将在第一时间及时删除,相关侵权责任均由相应上传用户自行承担。
[complaint:内容投诉]
智造资料网打造智能制造3D图纸下载,在线视频,软件下载,在线问答综合平台 » 塑料模具设计教程_8-4棒材挤出成型机头(图文教程)