塑料模具设计教程_7-1压注模的分类及结构组成(图文教程)

     压注成型又称传递成型,是在压缩成型基础上发展起来的一种热固性塑料的成型方法,能成型外形复杂、薄壁或壁厚变化很大、带有精细嵌件的塑件。压注成型与压缩成型有许多共同之处,压注模与压缩模的型腔结构、脱模机构、成型零件的结构及计算方法、加热方式等也基本相同,两者最大的区别在于压注模有单独的加料室和浇注系统。

7-1-1 压注模的分类

    压注模的分类方法也很多,但通常情况下,压注模是按照模具的结构特征来进行分类的。按照加料室的结构特征,压注模可分为罐式压注模和柱塞式压注模两种形式。下面分别进行介绍。

1. 罐式压注模

    罐式压注模使用较为广泛,这类模具对成型设备没有特殊的要求,在普通压力机上就可以压注成型塑件,分为移动式和固定式两种。

(1)移动式

    图7-1所示为典型的移动式罐式压注模,加料室与模具可分离,靠压力机上下工作台的加热板进行加热。工作时,模具闭合后放上加料室4,将塑料加入到加料室4内,利用压力机的压力,将塑化好的物料高速压入型腔,硬化定型后,取下加料室4和压柱5,用手工或专用工具将塑件取出。

塑料模具设计教程_7-1压注模的分类及结构组成(图文教程),塑料模具设计教程_7-1压注模的分类及结构组成,塑料模具,结构,第1张塑料模具设计教程_7-1压注模的分类及结构组成(图文教程),塑料模具设计教程_7-1压注模的分类及结构组成,塑料模具,结构,第2张

图7-1  移动式压注模

1-下模座板;2-凸模固定板;3-凹模板;4-加料室;5-压柱;6-导柱;7-凸模;8-手把

(2)固定式

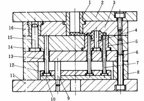
    图7-2所示为固定式罐式压注模。其加料室在模具的内部,与模具不能不能分离,模具上设有加热装置。

塑料模具设计教程_7-1压注模的分类及结构组成(图文教程),塑料模具设计教程_7-1压注模的分类及结构组成,塑料模具,结构,第3张

图7-2  固定式压注模的结构

1-上模座板;2-压柱;3-加料室;4-浇口套;5-型芯;6-推杆;7-垫块;8-推板;9-下模座板;

10-复位杆;11-拉杆;12-支承板;13-拉钩;14-下模板;15-上模板;16-定距导柱;

17-加热器安装孔

2.柱塞式压注模

    与罐式压注模相比,柱塞式压注模没有主流道,只有分流道,主流道变为圆柱形的加料室,与分流道相通。成型时,柱塞所施加的挤压力对模具不起锁模的作用,因此,需要用专用的压力机。这种压力机有主液压缸(锁模)和辅助液压缸(成型)两个液压缸,主液压缸起锁模作用,辅助液压缸起压入成型作用。这类模具既可以是单腔的,也可以一模多腔。

(1)上加料室式压注模

    上加料室式压注模的结构如图7-3所示。锁模液压缸在压力机的下方,自下而上合模,辅助液压缸在压力机的上方,自上而下将物料压入模腔。合模加料后,当加入加料室内的塑料受热成熔融状态时,压力机辅助液压缸工作,柱塞将熔融物料挤入型腔,固化成型后,辅助液压缸带动柱塞上移,锁模液压缸带动下工作台将模具分型开模,塑件与浇注系统凝料留在下模,推出机构将塑件从凹模镶块5中推出。这种结构的压注模成型时所需的挤压力小,成型质量好。

塑料模具设计教程_7-1压注模的分类及结构组成(图文教程),塑料模具设计教程_7-1压注模的分类及结构组成,塑料模具,结构,第4张

图7-3  上加料室压注模

1-加料室;2-卜模鹰板;3-上模板;4-型芯;5-凹模镶块;6-支承板;7-推杆;8-垫块;

9-推板导柱;10-推板;11-下模库板;12-推杆网定板;13-复位杆;14-下模板;15-导柱;

16-导套

(2)下加料室式压注模

    下加料室式压注模的结构如图7-4所示。锁模液压缸在压力机的上方,自上而下合模,辅助液压缸在压力机的下方,自下而上将物料压入型腔。下加料室式压注模与上加料室柱塞式压注模的主要区别在于它是先加料,后合模,最后压注成型,而上加料室柱塞式压注模是先合模,后加料,最后压注成型。由于余料和分流道凝料与塑件一同推出,因此,下加料室式压注模清理方便,节省材料。

塑料模具设计教程_7-1压注模的分类及结构组成(图文教程),塑料模具设计教程_7-1压注模的分类及结构组成,塑料模具,结构,第5张

图7-4  下加料室压注模

l-上模座板;2-上凹模;3-下凹模;4-加料室;5-推杆;

6-下模板;7-支承板(加热板);8-垫块;9-柱塞;10-分流锥

该文章所属专题:塑料模具设计教程

7-1-2 压注模的结构组成

1. 压注模的工作原理

    图7-2所示为典型的固定式压注模结构。模具由压柱、上模、下模三部分组成,压柱2随上模座板1固定在上工作台,下模固定于压力机的下工作台上。开模时,压柱随上模座板1向上移动,A—A分型面分型,加料室3敞开,压柱把浇注系统的凝料从浇口套中拉出。当上模座板1上升到一定高度时,拉杆11上的螺母迫使拉钩13转动,使之与下模部分脱开,接着定距导柱16起作用,使B—B分型面分型,最后由推出机构将塑件推出。合模时,复位杆10使推出机构复位,拉钩13靠自重将下模部分锁住。

2.压注模的结构组成

    压注模主要由以下几个部分组成:

(1)成型零部件

    指直接与塑件接触的那部分零件,如凹模、凸模、型芯等。

(2)加料装置

    由加料室和压柱组成,移动式压注模的加料室和模具是可分离的,固定式压注模加料室与模具在一起。

(3)浇注系统

    与注射模相似,主要由主流道、分流道和浇口组成。

(4)导向机构

    由导柱、导套组成,起定位、导向作用。

(5)侧向分型与抽芯机构

    如果塑件中有侧孔或侧凹,则必须采用侧向分型与抽芯机构,具体的设计方法与注射模的结构类似。

(6)推出机构

    在注射模中采用的推杆、推管、推件板等各种推出结构,在压注模中也同样适用。

(7)加热系统

    压注模的加热元件主要是电热棒、电热圈,加料室、上模和下模均需要加热。移动式压注模主要靠压力机上下工作台的加热板进行加热。

该文章所属专题:塑料模具设计教程

免责声明:
1;所有标注为智造资料网zl.fbzzw.cn的内容均为本站所有,版权均属本站所有,若您需要引用、转载,必须注明来源及原文链接即可,如涉及大面积转载,请来信告知,获取《授权协议》。
2;本网站图片,文字之类版权申明,因为网站可以由注册用户自行上传图片或文字,本网站无法鉴别所上传图片或文字的知识版权,如果侵犯,请及时通知我们,本网站将在第一时间及时删除,相关侵权责任均由相应上传用户自行承担。
[complaint:内容投诉]
智造资料网打造智能制造3D图纸下载,在线视频,软件下载,在线问答综合平台 » 塑料模具设计教程_7-1压注模的分类及结构组成(图文教程)