塑料模具设计教程_6-1压缩模结构组成及分类(图文教程)

6-1-1 压缩模结构组成

1.压缩模的工作原理

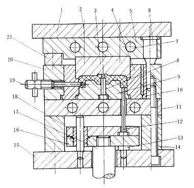
    压缩模的典型结构如图6-1所示。模具的上模和下模分别安装在压力机的上、下工作台上,上下模通过导柱导套导向定位。成型前,将配好的塑料原料倒入凹模4上端的加料室,然后上工作台下降,使上凸模3进入下模加料室4与装入的塑料接触并对其加热。当塑料成为熔融状态后,上工作台继续下降,熔料在受热受压的作用下充满型腔并发生固化交联反应。塑件固化成型后,上工作台上升,模具分型,同时压力机下面的辅助液压缸开始工作,脱模机构将塑件脱出。

2.压缩模的结构组成

    按各零部件的功能和作用,压缩模可分为以下7大部分:

(1)成型零件

    成型零件是直接成型塑件的零件,加料时与加料室一道起装料的作用。图6-1中模具型腔由上凸模3、凹模4、型芯8、下凸模9等构成。

(2)加料室

    图6-1中凹模4的上半部,为凹模截面尺寸扩大的部分。由于塑料与塑件相比具有较大的比容,塑件成型前单靠型腔往往无法容纳全部原料,因此一般需要在型腔之上设有一段加料腔室。

(3)导向机构

    图6-1中,由布置在模具上周边的四根导柱6和导套10组成导向机构,它的作用是保证上模和下模两大部分或模具内部其它零部件之间准确对合。为保证推出机构上下运动平稳,该模具在下模座板15上设有二根推板导柱,在推板上还设有推板导套。

(4)侧向分型与抽芯机构

    当压缩塑件带有侧孔或侧向凹凸时,模具必须设有各种侧向分型与抽芯机构,塑件方能脱出。图6-1中的塑件有一侧孔,在推出塑件前用手动丝杆(侧型芯19)抽出侧型芯。

(5)脱模机构

    压缩模中一般都需要设置脱模机构(推出机构),其作用是把塑件脱出模腔,图6-1中的脱模机构由推板16、推杆固定板18、推杆12等零件组成。

(6)加热系统

    在压缩热固性塑料时,模具温度必须高于塑料的交联温度,因此模具必须加热。常见的加热方式有:电加热、蒸汽加热、煤气或天然气加热等,但以电加热最为普遍。图6-1中加热板5、11中设计有加热孔7,加热孔7中插入加热元件(如电热棒),分别对上凸模、下凸模和凹模进行加热。

(7)支承零部件

    压缩模中的各种固定板、支承板(加热板等)以及上、下模座等均称为支承零部件,如图6-1中的零件l、5、11、14、15、20、2l等。它们的作用是固定和支承模具中各种零部件,并且将压力机的力能传递给成型零部件和成型物料。

塑料模具设计教程_6-1压缩模结构组成及分类(图文教程),塑料模具设计教程_6-1压缩模结构组成及分类,塑料模具,结构,第1张

图6-1  压缩模结构

1-上模座板;2-螺钉;3-上凸模;4-加料室(凹模);5,11-加热板;6-导拄;7-加热孔;8-型芯;9-下凸模;10-导套;

12-推杆;13-支承钉;14-垫块;15-下模座板;16-推板;17-连接杆;18-推杆固定板;19-侧型芯;20-型腔固定板;21-承压块

6-1-2 压缩模的分类

    压缩模分类方法很多,可按模具在压力机上的固定方式分类,也可按模具加料室的形式进行分类,下面分别进行介绍。

1.按模具在压力机上的固定形式分类

    按模具在压力机上的固定形式,压缩模可分为移动式压缩模、半固定式压缩模和固定式压缩模。

(1)移动式压缩模

    移动式压缩模如图6-2所示,模具不固定在压力机上。压缩成型前,打开模具把塑料加入型腔,然后将上下模合拢,送入压力机工作台上对塑料进行加热加压成型固化。成型后将模具移出压力机,使用专门卸模工具开模脱出塑件。图6-2中是采用U型支架撞击上下模板,使模具分开脱出塑件。这种模具结构简单,制造周期短,但加料、开模、取件等工序均需手工操作,因此劳动强度大,生产率低、易磨损,适用于压缩成型批量不大的中小型塑件以及形状复杂、嵌件较多、加料困难及带有螺纹的塑件。

  塑料模具设计教程_6-1压缩模结构组成及分类(图文教程),塑料模具设计教程_6-1压缩模结构组成及分类,塑料模具,结构,第2张

图6-2 移动式压缩模

 

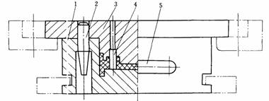
(2)半移动式压缩模

    半移动式压缩模如图6-3所示,一般将上模固定在压力机上,下模可沿导轨移进或移出压力机外进行加料和在卸模架上脱出塑件。下模移进时用定位块定位,合模时靠导向机构定位。这种模具结构便于安放嵌件和加料,且上模不移出机外,从而减轻了劳动强度,也可按需要采用下模固定的形式,工作时移出上模,用手工取件或卸模架取件。

塑料模具设计教程_6-1压缩模结构组成及分类(图文教程),塑料模具设计教程_6-1压缩模结构组成及分类,塑料模具,结构,第3张

图6-3  半移动式压缩模

1-凹模(加料室);2-导柱;3-凸模(上模);4-型芯;5-手柄

 

(3)固定式压缩模

    固定式压缩模如图6-1所示。上下模分别固定在压力机的上下工作台上。开合模与塑件脱出均在压力机上靠操作压力机来完成,因此生产率较高、操作简单、劳动强度小、开模振动小、模具寿命长,但缺点是模具结构复杂、成本高,且安放嵌件不方便,适用于成型批量较大或形状较大的塑件。

 

2.根据模具加料室的形式分类

    根据模具加料室的形式不同,压缩模可分为溢式压缩模、不溢式压缩模和半溢式压缩模。

(1)溢式压缩模

    溢式压缩模如图6-4所示。这种模具无单独的加料室,型腔本身作为加料室,型腔高度h等于塑件高度,由于凸模和凹模之间无配合,完全靠导柱定位,故塑件的径向尺寸精度不高,而高度尺寸精度尚可。压缩成型时,由于多余的塑料易从分型面处溢出,故塑件具有径向飞边,设计时挤压环的宽度B应较窄,以减薄塑件的径向飞边。图中环形挤压面B(即挤压环)在合模习始时,挤压面仅产生有限的阻力,合模到终点时,挤压面才完全密合。因此,塑件密度较低,强度等力学性能也不高,特别是合模太快时,会造成溢料量的增加,浪费较大。溢式模具结构简单,造价低廉,耐用(凸、凹模间无摩擦),塑件易取出。除了可用推出机构脱模外,也可用压缩空气吹出塑件。这种压缩模对加料量的精度要求不高,加料量一般仅大于塑件重量的5%左右,常用预压型坯进行压缩成型,适用于压缩流动性好或带短纤维填料以及精度要求不高且尺寸小的浅型腔塑件。

塑料模具设计教程_6-1压缩模结构组成及分类(图文教程),塑料模具设计教程_6-1压缩模结构组成及分类,塑料模具,结构,第4张

图6-4 溢式压缩模 

(2)不溢式压缩模

    不溢式压缩模如图6-5所示。这种模具的加料室在型腔上部延续,其截面形状和尺寸与型腔完全相同,无挤压面。由于凸模和加料腔之间有一段配合,故塑件径向壁厚尺寸精度较高。由于配合段单面间隙约为0.025~0.075mm,故压缩时仅有少量的塑料流出,使塑件在垂直方向上形成很薄的轴向飞边,去除比较容易,其配合高度不宜过大,在设计不配合部分时,可以将凸模上部截面设计得小一些,也可以将凹模对应部分尺寸逐渐增大而形成15′~20′的锥面。模具在闭合压缩时,压力几乎完全作用在塑件上,因此塑件密度高,强度高。这类模具适用于成型形状复杂、精度高、壁薄、长流程的深腔塑件,也可成型流动性差、比容大的塑件,特别适用于含棉布、玻璃纤维等长纤维填料的塑件。

    不溢式压缩模由于塑料的溢出量少,加料量直接影响着塑件的高度尺寸,因此每模加料都必须准确称量,否则塑件高度尺寸不易保证。另外由于凸模与加料室侧壁摩擦,将不可避免地会擦伤加料室侧壁,同时,塑件推出模腔时带划伤痕迹的加料室也会损伤塑件外表面且脱模较为困难,故固定式压缩模一般设有推出机构。为避免加料不均,不溢式模具一般不宜设计成多型腔结构。

塑料模具设计教程_6-1压缩模结构组成及分类(图文教程),塑料模具设计教程_6-1压缩模结构组成及分类,塑料模具,结构,第5张

图6-5 不溢式压缩模

(3)半溢式压缩模

    半溢式压缩模如图6-6所示。这种模具在型腔上方设有加料室,其截面尺寸大于型腔截面尺寸,两者分界处有一环形挤压面,其宽度约为4~5mm。凸模与加料室呈间隙配合,凸模下压时受到挤压面的限制,故易于保证塑件高度尺寸精度。凸模在四周开有溢流槽,过剩的塑料通过配合间隙或溢流槽排出。因此,此模具操作方便,加料量不必严格控制,只需简单地按体积计量即可。

塑料模具设计教程_6-1压缩模结构组成及分类(图文教程),塑料模具设计教程_6-1压缩模结构组成及分类,塑料模具,结构,第6张

图6-6  半溢式压缩模

    半溢式压缩模兼有溢式和不溢式压缩模的优点,塑件径向壁厚尺寸和高度尺寸的精度均较好,密度较高,模具寿命较长,塑件脱模容易,塑件外表不会被加料室划伤。当塑件外形较复杂时,可将凸模与加料室周边配合面形状简化,从而减少加工困难,因此在生产中被广泛采用。半溢式压缩模适用于压缩流动性较好的塑件以及形状较复杂的塑件,由于有挤压边缘,不适于压制以布片或长纤维作填抖的塑件。

    以上所述的模具结构是压缩模的三种基本类型,将它们的特点进行组合或改进,还可以演变成其它类型的压缩模。

该文章所属专题:塑料模具设计教程

免责声明:
1;所有标注为智造资料网zl.fbzzw.cn的内容均为本站所有,版权均属本站所有,若您需要引用、转载,必须注明来源及原文链接即可,如涉及大面积转载,请来信告知,获取《授权协议》。
2;本网站图片,文字之类版权申明,因为网站可以由注册用户自行上传图片或文字,本网站无法鉴别所上传图片或文字的知识版权,如果侵犯,请及时通知我们,本网站将在第一时间及时删除,相关侵权责任均由相应上传用户自行承担。
[complaint:内容投诉]
智造资料网打造智能制造3D图纸下载,在线视频,软件下载,在线问答综合平台 » 塑料模具设计教程_6-1压缩模结构组成及分类(图文教程)