铸造件结构设计:壁厚均匀(图文教程)

铸造件结构设计:壁厚均匀

图      例

说      明

铸造件结构设计:壁厚均匀(图文教程),铸造件结构设计:壁厚均匀,改进,不合理,第1张  

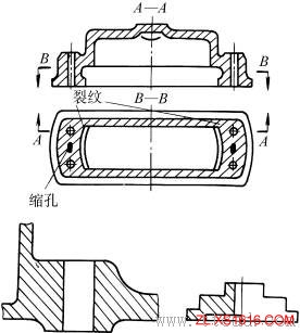
不合理  

铸造件结构设计:壁厚均匀(图文教程),铸造件结构设计:壁厚均匀,改进,不合理,第2张   

 合理

改进后壁厚均匀,避免了薄壁与厚壁的连接裂纹和厚壁的缩孔

 铸造件结构设计:壁厚均匀(图文教程),铸造件结构设计:壁厚均匀,改进,不合理,第3张  

 不合理 

铸造件结构设计:壁厚均匀(图文教程),铸造件结构设计:壁厚均匀,改进,不合理,第4张

合理

改进后由加强肋代替厚壁,壁厚均匀

 铸造件结构设计:壁厚均匀(图文教程),铸造件结构设计:壁厚均匀,改进,不合理,第5张  

不合理 

铸造件结构设计:壁厚均匀(图文教程),铸造件结构设计:壁厚均匀,改进,不合理,第6张

               合理

改进后利用嵌件使壁厚均匀;改进后壁厚均匀

 铸造件结构设计:壁厚均匀(图文教程),铸造件结构设计:壁厚均匀,改进,不合理,第7张   

 不合理  

铸造件结构设计:壁厚均匀(图文教程),铸造件结构设计:壁厚均匀,改进,不合理,第8张

合理

改进后外形减小,壁厚均匀;改进后外形不变,壁厚均匀

 铸造件结构设计:壁厚均匀(图文教程),铸造件结构设计:壁厚均匀,改进,不合理,第9张 铸造件结构设计:壁厚均匀(图文教程),铸造件结构设计:壁厚均匀,改进,不合理,第10张

 不合理      合理

改进后壁厚均匀,增加配合凸台T

 

免责声明:
1;所有标注为智造资料网zl.fbzzw.cn的内容均为本站所有,版权均属本站所有,若您需要引用、转载,必须注明来源及原文链接即可,如涉及大面积转载,请来信告知,获取《授权协议》。
2;本网站图片,文字之类版权申明,因为网站可以由注册用户自行上传图片或文字,本网站无法鉴别所上传图片或文字的知识版权,如果侵犯,请及时通知我们,本网站将在第一时间及时删除,相关侵权责任均由相应上传用户自行承担。
[complaint:内容投诉]
智造资料网打造智能制造3D图纸下载,在线视频,软件下载,在线问答综合平台 » 铸造件结构设计:壁厚均匀(图文教程)