表面结构要求包括粗糙度、波纹度、原始轮廓等参数。其表示方法的标准是模具设计不可缺少的常用标准。作为规定表面结构标注方法重要基础性国家标准的GB/T131-1993《机械制图、表面粗糙度符号、代号及其标注》国家标准于2006年被修订为GB/T131-2006《产品几何技术规范(GPS)技术产品文件中表面结构的表示法》。新版标准采用ISO 1302:2002《产品几何技术规范(GPS)技术产品文件中表面结构的表示法》(英文版),共有11章及10个附录,分别对技术产品文件中表面结构的表示方法作出了规定,适用于所有产品对表面结构有要求的标注。与原1993年版旧标准相比,技术内容发生了很大变化。因此,贯彻标准时需要加以注意。
1 注意表面结构表示法所属标准化领域的变化
本次修订,将表面结构表示法从机械制图领域划归为产品几何技术规范领域。因此,标准名称由原来的《机械制图、表面粗糙度符号、代号及其标注》修改为《产品几何技术规范(GPS)技术产品文件中表面结构的表示法》。将表面结构表示法所属标准化领域加以捋顺,有利于标准之间的相互协调。
2 注意表面结构符号分类的变化
新版标准对表面结构图形符号的规定没有变化,但对表面结构图形符号的分类作了调整。1993年版对表面结构表示有粗糙度符号和粗糙度代号之称。其中,表示粗糙度的图形称为粗糙度符号;而粗糙度的符号和数字则统称为粗糙度代号。而新标准则一律称为表面结构的图形符号。此外,新标准还对表面结构的图形符号进一步做了分类。分为基本图形符号、扩展图形符号、完整图形符号三种,并分别给出了各自的定义。其中,基本图形符号即1993版中所称的基本符号。新标准将原来的表示表面可以用任何方法获得的符号称为基本图形符号,将原来的表示表面可以用去除材料的方法获得粗糙度的符号以及不允许用去除材料的方法获得表面粗糙度的符号统称为扩展图形符号。而将原来在基本符号的长边上加一横线、用于标注有关参数和说明的符号称为完整图形符号。图样及文件上所标柱的表面结构符号即是完整图形符号。但各种图形符号的含义没有变。新标准对表面结构符号的分类见表1。

表1新标准对表面结构的分类
3 注意表面结构要求的标注
3.1 图形符号的比例和尺寸
新旧标准关于完整图形符号的比例和尺寸的规定差异不大。只是新标准将2.5和3.5两个系列的数字和字母高度h所对应的图形符号长边高度尺寸H2由原来的8和11分别修改为7.5和10.5。其它规定未变。
3.2 各项标注内容的注写位置
按新标准规定,表面结构的完整图形符号应注写表面结构参数和数值、加工方法、表面纹理方向、加工余量等内容。其中,加工方法、表面纹理方向、加工余量等内容的标注位置没有变化。但表面结构参数的标注位置却由原来规定标注在短边横线上改为标注在长边横线的下面。这一点是新旧标准的显著不同点,应特别引起注意。例如:允许采用去除材料的方法获得Rz 12.5时,表面结构参数标注修改前后对比见图1。

图 1 表面结构参数标注的修改前后对比
3.3 表面结构参数的表示
众所周知,类似于评定轮廓的算术平均偏差Ra、轮廓的最大高度Rz等被称为表面结构参数。按旧标准规定,标注评定轮廓的算术平均偏差Ra时,代号Ra省略不标。而新标准规定,不管是何种表面结构参数,都应按规定标注相应表面结构参数代号。新旧标准对比见图2。

图2 评定轮廓的算术平均偏差Ra的标注修改前后对比
此外,本次还修改了表面结构参数代号的写法。按1993版标准规定,表面结构参数代号采用下角标的方式书写。新标准则规定直接采用大小写字母表示。例如:评定轮廓的算术平均偏差的代号由原来的用“Ra”表示,修改为用“Ra”表示。即符号中的字母“a”由下角标改为直接用小写字母表示。
3.4 表面纹理方向
纹理方向是指表面纹理的主要方向,通常由加工工艺决定。新标准规定的表面纹理符号与旧标准相同,仍为“=(表示平行)”、“⊥(表示垂直)”、“X(表示交叉)”、“M(表示多方向)”、“C(表示同心圆)”、“R(表示放射状)”、“P(表示颗粒、凸起、无方向)”。当有表面纹理要求时,才标注相应的符号。
3.5 加工余量
在同一图样中,有多个加工工序的表面可标注加工余量。例如,在表示出完工零件的铸锻件图样中给出加工余量。值得指出的是,加工余量可以和表面结构要求一起标注,也可以是在表面结构图形符号上的唯一要求,即表面结构图形符号上仅仅注写加工余量一项内容。
4 注意表面结构要求在文本中的表示
在图样中一般采用上述的图形法标注表面结构要求。在文本中采用图形法来表示表面结构要求较麻烦。因此,为了书写方便,新标准允许用文字的方式表达表面结构要求。新标准规定,在报告和合同的文本中可以用文字“APA”、“MRR”、“NMR”分别表示允许用任何工艺获得表面、允许用去除材料的方法获得表面以及允许用不去除材料的方法获得表面。这项规定是旧标准所没有的。例如:对允许用去除材料的方法获得表面、其评定轮廓的算术平均偏差为0.8这一要求,在文本中可以表示为“MRR Ra0.8”。代号及其含义、标注示例见表2。
表2
序号 | 代号 | 含义 | 标注示例 |
1 | APA | 允许用任何工艺获得 | APA Ra0.8 |
2 | MRR | 允许用去除材料的方法获得 | MRR Ra0.8 |
3 | NMR | 允许用不去除材料的方法获得 | NMR Ra0.8 |
5 注意表面结构要求在图样上的标注位置
新标准明确规定,表面结构要求可以标注在轮廓线或轮廓延长线上,也可标注在指引线上、标注在特征尺寸的尺寸线上、标注在形位公差框格上等。新旧标准的主要不同点如下。
(1)新标准规定,在不致引起误解时,允许将表面结构要求标注在尺寸线上。如对于圆柱面就可以这样标注见图3。这是旧标准所没有的。

图 3 图形符号在尺寸线上的标注
(2)新标准允许将表面结构要求标注在形位公差框格的上方。例如:某表面要求Ra1.6,可标注在其公差框格上见图4。这个规定也是旧标准所不允许的。

图4 图形符号在公差框格上的标注
(3)新旧标准都允许表面结构要求标注在指引线上。可不同的是,新标准规定的指引线应带箭头,而旧标准规定的指引线不带箭头。这一点应加以注意。修改前后标注对比示例(见图5)。但需指出的是,对于标注在轮廓线以内的指引线,其端部不带箭头,而带圆点。这一点需要注意。

图5图形符号指引线端部型式修改前后对比
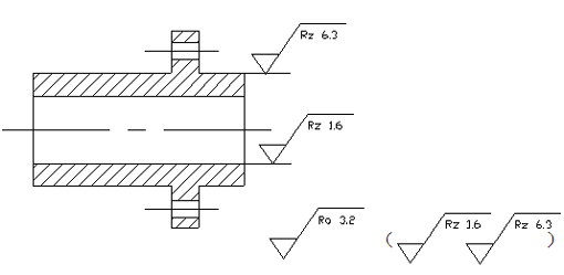
(4)新标准明确规定圆柱和棱柱表面的表面结构要求只标注一次。这是旧标准所没有的。按旧标准的规定,即使棱柱各侧表面结构参数相同,也应分别加以标注。
6 注意简化标注新规定
按新版标准规定,表面结构要求有三种简化标注方式。一是有相同表面结构要求的,可以采用统一标注。例如:某工件表面结构要求全部为Ra12.5时,可以在图纸上统一标注“Ra12.5”。二是当多个表面具有相同的表面结构要求或图纸空间有限时,可以采用完整图形符号和A、B、C….X、Y、Z等字母代替相应的表面结构参数的方式标注,并在图纸上统一以等式的形式说明其所代表的表面结构要求。三是当采用基本图形符号和扩展图形符号即可说明表面结构要求时,可直接采用标注表面结构的基本图形符号和扩展图形符号的简化方式,并以等式的形式说明相应的表面结构要求。
以上这些简化标注规定与1993年版标准基本相同。但对于第一种简化标注方式中表面结构图形符号的标注位置的规定,新旧标准存在差异。按1993年版标准规定,如果工件的多数或全部表面有相同的表面结构要求时,其代号可统一标注在图样的右上角。当部分表面有相同的表面结构要求时,还应在表面结构参数前面注写“其余”字样。而新标准对此情况则规定为表面结构符号一律统一标注在图样标题栏附近。并且不论哪种情况,都不必标注“其余”二字。也就是说,按新标准规定,不论是何种简化标注方式,表面结构符号均应统一标注在图纸的标题栏附近。不要再将表面结构要求的符号标注在图样的右上角。
另外,新标准对大多数表面有相同表面结构要求这一简化标注形式增加了新规定。新标准规定:如果在工件的多数表面(除全部表面有相同要求的情况外),表面结构要求的符号后面应有:
——在圆括号内给出无任何其它标注的基本符号见图6;
——在圆括号内给出不同的表面结构要求见图7。

图6 大多数表面有相同表面结构要求的简化标注(一)

图7 大多数表面有相同表面结构要求的简化标注(二)
7 注意传输带及评定长度的标注
根据GB/T131-2006规定,表面结构完整符号应标注传输带及评定长度等参数。即在表面结构图形符号长边横线下面依次注写传输带、取样长度、表面结构参数代号、评定长度与取样长度的倍数、表面结构参数的数值。这一规定与1993年版标准不同。1993年版规定,在粗糙度符号长边横线下面依次注写粗糙度间距参数值或轮廓支撑长度率。
8 注意表面结构符号的标注方向
表面结构图形符号不应倒着标注,也不应指向左侧标注。遇到这种情况时应采用指引线标注见图8。而旧标准则没有此限制。

图8 采用指引线标注的示例
9 标注要完整
表面结构要求不仅包括表面结构参数和数值,还应包括其它补充说明。如加工方法、加工纹理方向、传输带等参数,尤其要注意标注传输带、评定长度这些参数。凡是没有默认规定的补充说明都应该加以标注。因为这些信息对保证和测量表面结构是必要的。
10 注意表面结构参数的含义
GB/T131-2006中所涉及的表面结构参数其定义及测量等应符合1994年以后陆续发布的相关表面结构标准。值得指出的是,GB/T131-2006中所涉及的表面结构参数代号“Rz”其含义已不是以前的“微观不平度十点高度”,而是表示“轮廓的最大高度”。即新标准中的“Rz”为原来的“Ry”。原来的符号“Ry”不再使用。同时,以前的“微观不平度十点高度”这一参数已被取消。因此,按GB/T131-2006标注表面结构参数时,Rz的含义应理解为 “轮廓的最大高度”,而不能再理解为“微观不平度十点高度”。
1;所有标注为智造资料网zl.fbzzw.cn的内容均为本站所有,版权均属本站所有,若您需要引用、转载,必须注明来源及原文链接即可,如涉及大面积转载,请来信告知,获取《授权协议》。
2;本网站图片,文字之类版权申明,因为网站可以由注册用户自行上传图片或文字,本网站无法鉴别所上传图片或文字的知识版权,如果侵犯,请及时通知我们,本网站将在第一时间及时删除,相关侵权责任均由相应上传用户自行承担。
[complaint:内容投诉]
智造资料网打造智能制造3D图纸下载,在线视频,软件下载,在线问答综合平台 » 新版GB/T131表面结构要求标注方法新标准(图文教程)

