键
键是标准件,用来联结轴与安装在轴上的皮带轮、齿轮或链轮等,起着传递扭矩的作用。常用的键有普通平键和半圆键。键联结是先将键嵌入轴上的键槽内,再对准轮毂上的键槽,把轴和键同时插入孔和槽内,这样就可以使轴和轮一起转动。
如图2-35所示,键将轴与轴上的皮带轮联接在一起,以传递扭矩。
图2-35 键联结

普通平键 半圆键 勾头楔键
图2-36 键的种类
3.1普通平键3.1.1普通平键的结构及其标记
普通平键分圆头(A型)、平头(B型)和单圆头(C型)三种型式,如图2-37所示以A型应用较多。图2-40是A型普通平键及其标记。普通平键的型式尺寸在GB1096-79中作了规定(附表15)。键的宽b和高度h按轴颈查表选取,而长度L可参照轮毂宽度决定,一般选略小于轮毂宽度的一个标准长度。

A型 B型 C型
图2-37 普通平键

图2-38 A型普通平键及其标记
标记示例:键宽b=16mm、键高h=8mm、键长L=100mm的
圆头普通平键(A型):
键 16×100 GB1096-79
3.1.2普通平键键槽的尺寸标注及装配画法
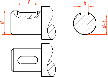
轴上的键槽用铣刀铣出,轮毂上的键槽一般用插刀插出,其尺寸注发法如图2-39、图2-40所示,注意轴上键槽深应标注d-t的尺寸(也可注t),轮毂上的键槽深则用D+t1标注。
其中t—键槽深度; b—键槽宽度; b、t、l 可按轴径d从标准中查出。
t1 —轮毂上键槽深度; b —键槽宽度; t1、b可按孔径D从标准中查出。

图2-39 轴上的键槽的尺寸标注

图2-40 轮毂上的键槽的尺寸标注
普通平键的两侧面是工作面,因此,键与键槽沿宽度方向的公称尺寸相同,在装配图中应画成一条线。键的上表面为非工作表面,且轮毂上键槽深(D+t1)大于轴上槽深加键高(d-t+h),即键与键槽在此处不接触,故绘图时键上表面与键槽之间应有空隙,其装配画法如图2-41所示。 
图2-41 平键装配画法
免责声明:
1;所有标注为智造资料网zl.fbzzw.cn的内容均为本站所有,版权均属本站所有,若您需要引用、转载,必须注明来源及原文链接即可,如涉及大面积转载,请来信告知,获取《授权协议》。
2;本网站图片,文字之类版权申明,因为网站可以由注册用户自行上传图片或文字,本网站无法鉴别所上传图片或文字的知识版权,如果侵犯,请及时通知我们,本网站将在第一时间及时删除,相关侵权责任均由相应上传用户自行承担。
[complaint:内容投诉]
智造资料网打造智能制造3D图纸下载,在线视频,软件下载,在线问答综合平台 » 机械制图-1.3、键(图文教程)
1;所有标注为智造资料网zl.fbzzw.cn的内容均为本站所有,版权均属本站所有,若您需要引用、转载,必须注明来源及原文链接即可,如涉及大面积转载,请来信告知,获取《授权协议》。
2;本网站图片,文字之类版权申明,因为网站可以由注册用户自行上传图片或文字,本网站无法鉴别所上传图片或文字的知识版权,如果侵犯,请及时通知我们,本网站将在第一时间及时删除,相关侵权责任均由相应上传用户自行承担。
[complaint:内容投诉]
智造资料网打造智能制造3D图纸下载,在线视频,软件下载,在线问答综合平台 » 机械制图-1.3、键(图文教程)

