《机械制图》全国2011年7月高等教育自学考试(图文教程)

一、点、线、面作图题

(本大题共24题,其中第1小题10分、第2410分,共20)

1.过点M作正平线MN,使与两直线ABCD相交

《机械制图》全国2011年7月高等教育自学考试(图文教程),《机械制图》全国2011年7月高等教育自学考试,制图,教程,第1张

2.用换面法求点M到直线AB的距离,并作出该距离的VH两面投影

《机械制图》全国2011年7月高等教育自学考试(图文教程),《机械制图》全国2011年7月高等教育自学考试,制图,教程,第2张

 

二、截交线作图题(10)

3.画出圆柱被平面截切后的水平投影

《机械制图》全国2011年7月高等教育自学考试(图文教程),《机械制图》全国2011年7月高等教育自学考试,制图,教程,第3张

三、相贯线作图题(10)

4.根据立体的俯、左视图,补全主视图中相贯线的投影

《机械制图》全国2011年7月高等教育自学考试(图文教程),《机械制图》全国2011年7月高等教育自学考试,制图,教程,第4张《机械制图》全国2011年7月高等教育自学考试(图文教程),《机械制图》全国2011年7月高等教育自学考试,制图,教程,第5张

四、组合体读图作图题(12)

5.根据组合体的主、俯视图画出其左虚线不能省略

《机械制图》全国2011年7月高等教育自学考试(图文教程),《机械制图》全国2011年7月高等教育自学考试,制图,教程,第6张

五、组合体尺寸标注题(10)

6.在给定的组合体主、视图中标注尺寸尺寸数字按ll量取并取整)

《机械制图》全国2011年7月高等教育自学考试(图文教程),《机械制图》全国2011年7月高等教育自学考试,制图,教程,第7张

六、表达方法作图题(12)

7.在指定位置把主视图改画成半视图,并画出全视的左视图

《机械制图》全国2011年7月高等教育自学考试(图文教程),《机械制图》全国2011年7月高等教育自学考试,制图,教程,第8张

 

《机械制图》全国2011年7月高等教育自学考试(图文教程),《机械制图》全国2011年7月高等教育自学考试,制图,教程,第9张

《机械制图》全国2011年7月高等教育自学考试(图文教程),《机械制图》全国2011年7月高等教育自学考试,制图,教程,第10张

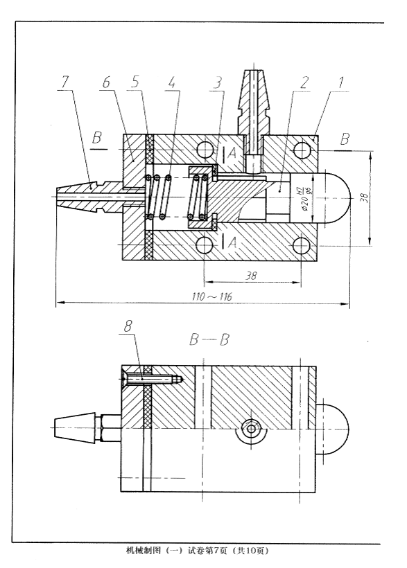
七、读装配图(见本卷78)并拆画零件图

(本大题共3小题,其中第8小题10分,第9小题3分,第10小题3分,共16)

要求:

8.在本页指定位置按原图大小和指定的表达方法拆画出壳体(序号1)的零件视图,其中,主视图全剖,俯视图半剖,左视图为视图并按一半画出

9.把装配图上与该零件有关的尺寸抄注到零俯视图中去

10.在零件视图中标注指定表面的表面粗糙度代号:《机械制图》全国2011年7月高等教育自学考试(图文教程),《机械制图》全国2011年7月高等教育自学考试,制图,教程,第11张20H7内孔表面的Ra值为1.6.阀体的左端面Ra值为3.2,右端面的Ra值为6.3

《机械制图》全国2011年7月高等教育自学考试(图文教程),《机械制图》全国2011年7月高等教育自学考试,制图,教程,第12张

八、标准件、常用件作图题(10)

11.分析螺钉连接装配图中的错误,并将正确的画在右边的指定应置

《机械制图》全国2011年7月高等教育自学考试(图文教程),《机械制图》全国2011年7月高等教育自学考试,制图,教程,第13张

免责声明:
1;所有标注为智造资料网zl.fbzzw.cn的内容均为本站所有,版权均属本站所有,若您需要引用、转载,必须注明来源及原文链接即可,如涉及大面积转载,请来信告知,获取《授权协议》。
2;本网站图片,文字之类版权申明,因为网站可以由注册用户自行上传图片或文字,本网站无法鉴别所上传图片或文字的知识版权,如果侵犯,请及时通知我们,本网站将在第一时间及时删除,相关侵权责任均由相应上传用户自行承担。
[complaint:内容投诉]
智造资料网打造智能制造3D图纸下载,在线视频,软件下载,在线问答综合平台 » 《机械制图》全国2011年7月高等教育自学考试(图文教程)