【内容概要】本章的重点介绍了螺纹连接、键联结、齿轮、轴承、弹簧等常用件和标准件的规定画法。难点是螺纹连接和轴承的规定画法,学习本章时要注意对国家标准的正确理解和一些标准数据的查阅方法。此外,本章中的螺纹连接、齿轮啮合、键联结等所涉及的知识已不是单独的零件,而是逐渐向部件过渡的典型装配结构,其目的是为下一步学习装配图打下基础,要熟练掌握这些装配结构的规定画法。
第一讲 螺纹及螺纹联结
1.知识要点:(1)螺纹参数;(2)螺纹分类;(3)螺纹的规定画法;(4)螺纹尺寸标注
2.教学手段:利用课件和实物模型讲解螺纹的形成和参数,对螺纹的分类重点分清管螺纹和普通螺纹,螺纹的规定画法要详细讲解,把各种表达方法讲解清楚。
3.课前准备:准备螺纹车刀、丝锥、外螺纹和内螺纹零件模型。
4.教学内容
(1)螺纹参数
①牙型:在通过螺纹轴线的剖面上,螺纹的轮廓形状称为牙型。相邻两牙侧面间的夹角称为牙型角。常用普通螺纹的牙型为三角形,牙型角为60°。
②大径、小径和中径:大径是指和外螺纹的牙顶、内螺纹的牙底相重合的假想柱面或锥面的直径,外螺纹的大径用d表示,内螺纹的大径用D表示。小径是指和外螺纹的牙底、内螺纹的牙顶相重合的假想柱面或锥面的直径,外螺纹的小径用d1表示,内螺纹的小径用D1表示。在大径和小径之间,设想有一柱面(或锥面),在其轴剖面内,素线上的牙宽和槽宽相等,则该假想柱面的直径称为中径,用d2(或D2)表示。(如图8-1所示)

图8-1螺纹参数
③线数:形成螺纹的螺旋线的条数称为线数。有单线和多线螺纹之分,多线螺纹在垂直于轴线的剖面内是均匀分布的。
④螺距和导程:相邻两牙在中径线上对应两点轴向的距离称为螺距。同一条螺旋线上,相邻两牙在中径线上对应两点轴向的距离称为导程。线数n、螺距P、导程S之间的关系为:S=n.P
⑤旋向:沿轴线方向看,顺时针方向旋转的螺纹成为右旋螺纹,逆时针旋转的螺纹称为左旋螺纹。
螺纹的牙型、大径、螺距、线数和旋向称为螺纹五要素,只有五要素相同的内、外螺纹才能互相旋合。
(2)螺纹的规定画法
①外螺纹的规定画法如图8-2所示,外螺纹的牙顶用粗实线表示,牙底用细实线表示。在不反映圆的视图上,倒角应画出,牙底的细实线应画入倒角,螺纹终止线用粗实线表示,螺尾部分不必画出,当需要表示时,该部分用与轴线成15°的细实线画出,在比例画法中,螺纹的小径可按大径的0.85倍绘制。在反映圆的视图上,小径用3/4圆的细实线圆弧表示,倒角圆不画。常见错误画法见图8-3

图8-2外螺纹规定画法

图8-3外螺纹常见错误画法
②内螺纹规定画法在采用剖视图时,内螺纹的牙顶用细实线表示,牙底用粗实线表示。在反映圆的视图上,大径用3/4圆的细实线圆弧表示,倒角圆不画。若为盲孔,采用比例画法时,终止线到孔的末端的距离可按0.5倍的大径绘制,钻孔时在末端形成的锥面的锥角按120度绘制(图8-4)。需要注意的是,剖面线应画到粗实线。其余要求同外螺纹。常见的错误画法见图8-5

图8-4内螺纹规定画法

图8-5内螺纹常见错误画法
③内、外螺纹的旋合画法(图8-6)在剖视图中,内、外螺纹的旋合部分应按外螺纹的规定画法绘制,其余不重合的部分按各自原有的规定画法绘制。必须注意的是,
图8-6内、外螺纹旋合画法

图8-7旋合画法中的常见错误
表示内、外螺纹大径的细实线和粗实线,以及表示内、外螺纹小径的粗实线和细实线应分别对齐。在剖切平面通过螺纹轴线的剖视图中,实心螺杆按不剖绘制。旋合画法中的常见错误见图8-7。
(3)螺纹尺寸标注
①普通螺纹的尺寸标注(图8-8)普通螺纹的尺寸由螺纹长度、螺纹工艺结构尺寸和螺纹标记组成,其中螺纹标记一定要注在大径上。完整的螺纹标记如下:
特征代号公称直径×螺距旋向-中径公差代号顶径公差代号旋合长度代号

普通螺纹的牙型代号为M,有粗牙和细牙之分,粗牙螺纹的螺距可省略不注;中径和顶径的公差带代号相同时,只标注一次;右旋螺纹可不注旋向代号,左旋螺纹旋向代号为LH;旋合长度为中型(N)时不注,长型用L表示,短型用S表示。
右图8-8螺纹尺寸的标注
②管螺纹的尺寸标注 管螺纹分为用螺纹密封管螺纹和非螺纹密封管螺纹。管螺纹的尺寸引线必须指向大径,其标记组成如下:
密封管螺纹代号:特征代号尺寸代号-旋向代号
非密封管螺纹代号:特征代号尺寸代号公差等级代号-旋向代号
需要注意的是,管螺纹的尺寸代号并不是指螺纹的大径,其参数可由相关手册中查出。
表8-1管螺纹的尺寸标注

5.作业习题集中的螺纹画法练习。
该文章所属专题:AutoCAD机械制图教程
第二讲 螺纹联接件
1.知识要点:(1)螺栓联接;(2)螺柱联接;(3)螺钉联接
2.教学方法:对六角头螺栓和螺母的画法要介绍比例画法和简化画法,要说明螺母比例画法也适用于非标准件,本讲比较枯燥乏味,讲解时要注意把规定画法和投影关系结合起来。以螺栓为主,螺钉和螺柱为辅。螺钉联接以圆柱头和沉头螺钉为主。
3.课前准备:准备螺栓、螺钉、螺柱联接件各一套。
4.教学内容
(1)螺栓联接
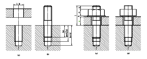
螺栓联接的紧固件有螺栓、螺母和垫圈。紧固件的画法一般采用比例画法绘制,即以螺栓上螺纹的公称直径(大径d)为基准,其余各部分的结构尺寸均按与公称直径成一定比例关系绘制。螺母和垫圈的比例画法见图8-9,螺栓的比例画法见图8-10,螺栓联接的画图步骤见图8-11,其中l=t1+t2+0.15d+0.8d+0.2d,然后查表取标准值。

图8-9螺母和垫圈的比例画法

图8-10螺栓的比例画法

图8-11螺栓联接的画图步骤
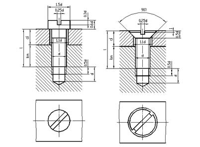
(2)钉联接圆柱头螺钉和沉头螺钉得到比例画法见图8-12。

图8-12螺钉联接的比例画法
(3)螺柱联接
双头螺柱的两端均加工用螺纹,一端和被联接零件旋合,另一端和螺母旋合,双头螺柱联接的比例画法和螺栓联接基本相同。双头螺柱旋入端长度bm要根据被联接件的材料而定(钢:bm=d;铸铁:bm=1.25d)。长度L要根据计算值查表取标准值。

图8-13螺柱联接
5.作业习题集中螺纹联接件的有关练习 该文章所属专题:AutoCAD机械制图教程
第三讲 键联接
1.知识要点
(1)普通平键联接;(2)半圆键联接;(3)钩头楔键联接;(4)花键联接;
(5)轴类零件的测绘
2.教学方法:本讲在教学中要注意教会同学查阅有关的手册图表,利用动画和模型演示键联接的装配图画法。将轴类零件的测绘和螺纹、键的内容结合在一起有利于化解零件图的难度,并和生产实际相联系,对培养学生的测绘能力有好处。
3.课前准备:熟悉课件,准备一套平键联接和花键联接模型。准备几张以往同学绘制的轴类零件图作业。
4.教学内容
(1)普通平键联接

图8-14普通平键联接
普通平键的基本尺寸有键宽b、高h和长度L,例如b=8,h=7,L=25,A型平键,则标记为:键8×25(GB/T1096-1979)。轴上键槽的深度t和轮毂上键槽的深度t1可由相关手册中查出。轴、轮毂键槽的表示方法和尺寸标注见图8-14。

图8-15半圆键
半圆键的基本尺寸有键宽b、高h、直径d1和长度L,例如b=6,d1=25,L=24.5,则标记为:键6×25(GB/T1099-1979)。轴上键槽的深度t可由相关手册中查出。轴、轮毂键槽的表示方法和尺寸标注见图8-15。
(3)钩头楔键
钩头楔键的基本尺寸有键宽b、高h和长度L,例如b=18,h=11,L=100,则标记为:键18×100(GB1565-79)。轴、轮毂和键的装配画法见图8-16。如图8-16钩头楔键
(4)花键
外花键的画法和螺纹相似,大径用粗实线绘制,小径用细实线绘制,但是,大小径的终止线用细实线表示,键尾用与轴线成30°的细实线表示。当采用剖视时,若剖切平面平行于键齿剖切,键齿按不剖绘制,且大小径均采用粗实线画出。在反映圆的视图上,小径用细实线圆表示。
外花键的标注可采用一般尺寸标注法和代号标注法两种。一般尺寸标注法应标注出大径D、小径d、键宽B(及齿数N)、工作长度L;用代号标注时,指引线应从大径引出,代号组成为:齿数×小径×小径公差带代号×大径×大径公差带代号×齿宽公差带代号
内花键的画法和标注和外花键相似,只是表示公差带的代号用大写字母表示。花键连接的画法和螺纹连接的画法相似,即公共部分按外花键绘制,不重合部分按各自的规定画法绘制。

图8-17花键联接
【测绘】测绘图8-18所示的轴

图8-18轴类零件的测绘
轴类零件是旋转零件,通常由外圆柱面、圆锥面、螺纹、键槽等构成。和轴配合的零部件有轮、套、轴承、键等,工艺结构有螺纹退刀槽、砂轮越程槽、中心孔等。通常的测绘步骤如下:
(1)绘制零件草图
轴类零件通常用一个基本视图和移出断面或局部放大图表示,基本视图的轴线水平放置,轴上的键槽最好放置在前面,用移出断面表示键槽的深度,砂轮越程槽或退刀槽常用局部放大图表示。
(2)尺寸测量
绘制出草图之后,确定要测量的尺寸,测量尺寸之前,要根据被测尺寸的精度选择测量工具,线性尺寸的主要的测量工具有千分尺、游标卡尺和钢板尺等,千分尺的测量精度在IT5-IT9之间,游标卡尺的测量精度在IT10以下,钢板尺一般用来测量非功能尺寸。轴类零件的测量尺寸主要有以下几类:
①轴径尺寸的测量由测量工具直接测量的轴径尺寸要经过圆整,使其符合国家标准(GB/T2822-1981)推荐的尺寸系列,与轴承配合的轴径尺寸要和轴承的内孔系列尺寸相匹配。
②轴径长度尺寸的测量轴径长度尺寸一般为非功能尺寸,用测量工具测出的数据圆整成整数即可,需要注意的是,长度尺寸要直接测量,不要用各段轴的长度累加计算总长。
③键槽尺寸的测量键槽尺寸主要有槽宽b、深度t和长度L,从外观即可判断与之配合的键的类型(本例为A型平键),根据测量出的b、t、L值,结合轴径的公称尺寸,查阅GB1096-79,取标准值。
④螺纹尺寸的测量螺纹大径的测量可用游标卡尺,螺距的测量可用螺纹规,如图6-28所示。在没有螺纹规时可用薄纸压痕法,采用压痕法时要多测量几个螺距,然后取标准值。
(3)确定尺寸公差及配合代号。
本例中和轴承配合的尺寸为φ35k6。键槽的偏差可查阅GB1096-79,因为轴径偏差为φ44h7(-0.025),键槽深度为5+0.2,所以39的偏差为39-0.225
(4)确定表面粗糙度(详见第七章)
本例中和轴承配合的轴径表面粗糙度取Ra=1.6,和轮配合的轴径表面粗糙度取Ra=3.2,其余表面取Ra=12.5。
(5)确定材料和热处理方法(请参阅有关材料和热处理的有关资料)
(6)绘制轴的零件图。
5.作业
习题集中的键联接、在A4图纸上绘制轴零件图(带螺纹和键槽)。在布置作业时要讲清楚以下问题:
(1)要把轴类零件的表达方法
(2)尺寸测量和圆整
(3)键槽、螺纹和中心孔的测量和标注
(4)偏差和粗糙度数值有教师给出,学生抄注。
(5)展示以往同学的作业 该文章所属专题:AutoCAD机械制图教程
第四讲 齿轮
1.知识要点
(1)渐开线齿轮齿廓参数
(2)直齿圆柱齿轮的图样画法
(3)斜齿圆柱齿轮的图样画法
(4)直齿圆锥齿轮的图样画法
(5)齿轮零件的测绘
2.教学方法
利用实物模型和课件组织教学,要在黑板上演示直齿圆柱齿轮和直齿圆锥齿轮的啮合画法,不能全用课件演示,否则学生不能掌握正确的画图步骤。在讲解齿轮测绘时要利用量具真实的演示尺寸测量和处理过程,并绘制出齿轮工作图。
3.课前准备
各种齿轮模型、量具(游标卡尺、钢板尺等)、以往同学测绘的齿轮零件图。
4.教学内容
(1)渐开线直齿圆柱齿轮各部分的名称和参数(图8-19)
齿顶圆直径da——通过齿顶的圆柱面直径;
齿根圆直径df——通过齿根的圆柱面直径;
分度圆直径d——在垂直于齿向的截面内,用一个假想圆柱面切割轮齿,使得齿隙弧长e和齿厚弧长s相等,这个假想的圆柱面称为分度圆,其直径称为分度圆直径;
齿高h——齿顶圆和齿根圆之间的径向距离;
齿顶高ha——齿顶圆和分度圆之间的径向距离;
齿根高hf——齿根圆和分度圆之间的径向距离;
齿距p——分度圆上相邻两齿廓对应点之间的弧长称为齿距;

齿厚s——分度圆上轮齿的弧长;
齿数Z——齿轮上轮齿的个数;
模数m——由于分度圆周长pz=πd,所以,d=(p/π)z,定义(p/π)为模数,模数的单位是毫米,根据d=mz可知,当齿数一定时,模数越大,分度圆直径越大,承载能力越大。模数的值已经标准化;
压力角α——一对齿轮啮合时,在分度圆上啮合点的法线方向,与该点的瞬时速度方向所夹的锐角,称为压力角。标准齿轮的压力角为20°;
中心距a——两齿轮轴线之间的距离;
图8-19直齿圆柱齿轮各部分的名称及代号
节圆直径d'——两齿轮啮合时,在连心线上啮合点所在的圆称为节圆。正确安装的标准齿轮的节圆和分度圆重合。
已知模数m和齿数z,标准齿轮的其它参数可按下述公式计算:
齿顶高 ha=m 分度圆直径 d=mz
齿根高 hf=
齿高 h=
中心距 a=(mz1+mz2)/2 z1、z2为一对齿轮啮合时的齿数。
(2)直齿圆柱齿轮的规定画法
单个齿轮的画法和啮合画法如图8-20所示。齿顶圆和齿顶线用粗实线绘制;分度圆和分度线用点画线绘制;齿根圆和齿根线用细实线绘制(也可省略不画),在剖视图中,齿根线用粗实线绘制,轮齿一律按不剖绘制。其它部分结构均按真实投影绘制。

图8-20直齿圆柱齿轮画法
(3)斜齿圆柱齿轮的规定画法
斜齿轮的轮齿在一条螺旋线上,螺旋线和轴线的夹角称为螺旋角。斜齿轮的画法和直齿轮相同,当需要表示螺旋线的方向时,可用三条与齿向相同的细实线表示,如图8-21所示。

图8-21斜齿圆柱齿轮的画法
(4)直齿圆锥齿轮的画法
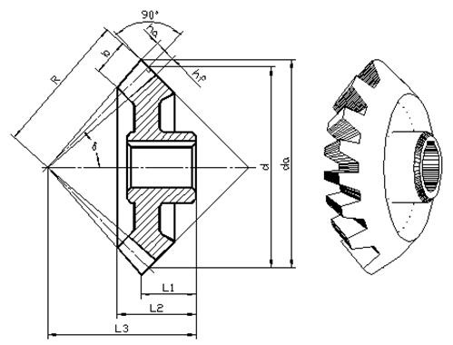
直齿圆锥齿轮的齿坯如图8-22所示,其基本形体结构由前锥、顶锥、背锥等组成。由于圆锥齿轮的轮齿在锥面上,所以齿形和模数沿轴向是变化的。大端的法向模数为标准模数,法向齿形为标准渐开线。在轴剖面内,大端背锥素线与分度锥素线垂直,轴线与分度锥素线的夹角δ称为分度圆锥角。如图8-23所示。

图8-22圆锥齿轮坯

图8-23圆锥齿轮参数
直齿圆锥齿轮的画法如图8-24所示。直齿圆柱齿轮的计算公式仍适用于圆锥齿轮大端法线方向的参数计算。圆锥齿轮啮合的画图步骤如图8-25所示。安装准确的标准齿轮,两分度圆锥相切,分度锥角δ1和δ2互为余角,啮合区轮齿的画法同直齿圆柱齿轮。

图8-24圆锥齿轮的画图步骤

图8-25圆锥齿轮啮合的画图步骤
5.作业按模型在A4(或A3)图纸上绘制直齿圆柱齿轮零件图。要求同上一讲测绘轴。
【齿轮测绘】测绘图8-26所示的齿轮

图8-26齿轮测绘
齿轮测绘就是用量具对齿轮实物的几何要素进行测量,如齿顶圆直径da、全齿高h、公法线长度Wk、齿数等,经过计算推算出原设计的基本参数,如模数m、齿形角α、齿顶高系数ha、齿顶间隙系数c等,并据此计算出制造时所需要的尺寸,如齿顶圆直径da、分度圆直径d及齿根圆直径df等,然后根据齿轮设计参数进行精度设计,绘制成一张齿轮工作图。测绘步骤如下:
(1)几何参数的测量
①齿数Z的确定:完整齿轮只需数一数多少个齿即可。
②齿顶圆da和齿根圆df的测量:对偶数齿齿轮,可用游标卡尺直接测量,得到da和df;而对于奇数齿齿轮,由于齿顶对齿槽,所以无法直接测量,带孔齿轮可按图8-27所示的方法测出D和e,然后由da=D+2e计算出齿顶圆直径da,由df=D+2n计算出df。

图8-27奇数齿齿顶圆直径的测量
③全齿高的测量:全齿高h可采用游标卡尺直接测量,也可以用间接法测量齿顶圆直径da和齿根圆直径df,由h=(da-df)/2的全齿高。或测量内孔壁到齿顶的距离H1和内孔壁到齿根的距离H2,由h=H1-H2的全齿高h。
④中心距a的测量:中心距可通过测量箱体上两孔的内壁距离间接测得。
⑤公法线长度的测量:公法线长度Wk可用游标卡尺或公法线千分尺测量,如图8-28所示。跨测齿数k可按下式计算:
k=z(α/180)+0.5
本例中取k=16(20/180)+0.5=2.7取k=3
当α=20°时,直齿圆柱齿轮公法线长度的计算公式为:
Wk=m[2.9521(k-0.5)+0.014z]
⑥基圆齿距Pb的测量:由图6-32可知,公法线长度每增加一个跨距,即增加一个基圆齿距,所以基圆齿距Pb可通过公法线长度Wk和Wk+1间接测得,Pb=Wk+1-Wk。

图8-28公法线长度的测量
(2)基本参数的确定
基本参数有模数m、齿数z、齿形角α、齿顶高系数ha和顶隙系数c,确定方法如下:
①标准制度的识别齿形角α的确定与标准制度有关,可通过了解齿轮的生产国家,认定该齿轮的标准制度,如中国、日本、法国等生产的齿轮可判断为模数制,齿形角α=20°齿顶高系数ha=1.0,或ha=0.8;如美、英等国生产的齿轮,可能为径节制,α=14.5°或α=20°,齿顶高系数ha=1.0,或ha=0.875。
②模数的确定当标准制度认定后,模数可以由以下方法确定,为使模数确定无误,应多用几种方法相互印证。
由齿顶圆直径da或齿根圆直径df计算确定模数:m=da/(z+
1;所有标注为智造资料网zl.fbzzw.cn的内容均为本站所有,版权均属本站所有,若您需要引用、转载,必须注明来源及原文链接即可,如涉及大面积转载,请来信告知,获取《授权协议》。
2;本网站图片,文字之类版权申明,因为网站可以由注册用户自行上传图片或文字,本网站无法鉴别所上传图片或文字的知识版权,如果侵犯,请及时通知我们,本网站将在第一时间及时删除,相关侵权责任均由相应上传用户自行承担。
[complaint:内容投诉]
智造资料网打造智能制造3D图纸下载,在线视频,软件下载,在线问答综合平台 » 八、标准件和常用件|AutoCAD机械制图教程(图文教程)

