机械制造工程_11.1外圆表面加工(图文教程)

第十一章 零件典型表面的切削成形方法

机械产品都是由零件组成的。尽管机械零件的种类很多,形状各异,但都是由一些最基本的几何表面(外圆、孔、平面等)组成的,而每种表面又有不同的加工方法。由于不同加工方法的加工质量、加工时间、加工费用是不相同的,正确选择加工方法对保证产品质量,提高生产率和经济性有着重要意义。

本章将介绍组成零件的几种典型表面的加工方法和加工方案,并进行了分析比较,为学习第十二章(机械加工工艺过程)打下必要的知识基础。

第一节 外圆表面加工

外圆表面是轴、套、盘等回转体类零件最基本的组成表面之一。其主要技术要求一般包括尺寸精度、表面粗糙度,重要的表面还包括圆度、圆柱度等形状精度,以及同轴度、圆跳动量、全跳动量等位置精度。外圆表面常用的加工方法有车削、磨削、研磨和超级光磨等。

一、外圆表面的车削

(一)常用车床类型及应用范围

1. 普通车床

在各种车床中,该机床用得较多,所占的比例较大。其主要特点是通用性强,加工内容广,但生产率低,因此适用于单件小批加工。

2.六角车床

由于该机床的回轮(或转塔)刀架能安装较多数量的刀具,并有轴向、径向定距切削装置,因此,不仅适合加工较复杂的回转类零件,并且生产率也明显高于普通车床,因此适用于较大批量加工较复杂的中小型零件。

3.自动、半自动车床

这两类车床由于自动化程度高,故生产率亦高。但是由于在每种零件加工前需要设计、制造专用靠模、凸轮等自动控制元件,调整也较复杂费时,生产准备周期长,因此适用于大批量生产。

4.立式车床

该机床适于加工直径大而长度短的大型盘、套类零件,在重型机械制造部门应用较多。

5.数控车床

该机床不仅具有加工过程自动化、效率高的特点,而且具有改变加工对象只需改变其控制程序即可的特点。因此,该机床与一般自动、半自动机床相比具有很大的灵活性、适应性,数控机床已达到较广泛的应用。但由于该机床技术复杂,造价高,故仅适用于中小批量加工形状较复杂的回转体类零件。

(二)车床上常用夹具及应范围

1.三爪自定心卡盘

这是车床上最常用的夹具,所谓自定心是指在平面螺纹驱动下,能保证三个卡爪同步径向移动,可自动定心且夹紧迅速。该卡盘主要适应于各种回转体零件的装夹,但定位精度不高,夹紧力较小。

2.四爪单动卡盘

每个卡爪都是单独移动,夹紧可靠,适用各种形状的工件。由于不能自动定心,找正工件加工部位中心比较困难。该卡盘常用于装夹形状特殊的轴类和盘类中、小型零件的单件小批加工。

3.顶尖支承

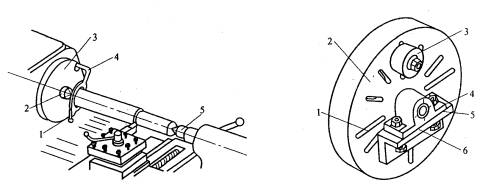
顶尖支承有两种方式:一种是左端卡盘装夹,右端顶尖支承;另一种是两端都用顶尖支承。前者用于外圆表面的粗车和半精车,后者用于精车。其特点是用两顶尖支承加工出的各段外圆表面间有较高的同轴度。如图11-1所示。

4.花盘、弯板安装

机械制造工程_11.1外圆表面加工(图文教程),机械制造工程_11.1外圆表面加工,加工,教程,第1张

图11-1 用顶尖安装工件 图11-2 在花盘用弯板安装零件

1—卡箍螺钉 2—前顶尖 3—拨盘 4—卡箍 5—后顶尖 1—螺栓槽 2—花盘 3—平衡铁 4—工件 5—安装基面 6—弯板

单独使用花盘,用于定位面与车床主轴垂直的形状复杂件的安装。花盘与弯板配合使用可用于定位面与车床主轴平行的较复杂件的安装,如图11-2所示。

(三)外圆表面车削的工艺特点

1.与外圆磨削相比,车削过程切削量大,效率高,但加工精度和表面质量不如磨削,又由于受刀具材料硬度的限制,车削常用于中等以下硬度表面的粗加工和半精加工。粗车可达IT11~13,表面粗糙度Ra值25~50μm。半精车可达IT9~10,表面粗糙度Ra值为6.3~12.5μm。用于不淬硬黑色金属和有色金属的精加工,其加工精度可达IT7~IT8,表面粗糙度Ra值为0.63~2.5μm。金刚石车削加工精度可达IT5~6,表面粗糙度Ra值为0.01~1.25μm。进行精

细外圆车削需采用精密车床和仔细刃磨的车刀,此外还要合理选用切削用量。

2.由于在一次装夹中可以车出回转体类零件上较多的表面,因此,较容易保证各加工表面的相互位置精度,如轴类各段轴颈间的同轴度,盘类外圆与端面间的垂直度及与内孔的同轴度等。

3.车刀结构简单,制造、刃磨容易,装夹方便,故加工成本低,车削是一般外圆表面最常用的加工方法。

二、外圆表面磨削

(一)常用外圆磨床及应用

常用的外圆磨床按结构不同分为普通外圆磨床和无心外圆磨床。

1.普通外圆磨床(如图10-22所示)

工件以顶尖孔定位在两顶尖间装夹,多用于轴类零件外圆表面及用心轴装夹的盘、套类零件外圆的加工。

2.无心磨床

无心磨床工作部分组成及工作原理如图11-3所示。

工件在中心轴线与磨削轮中心轴线成一定角度的导轮带动下既转动又移动,产生了沿圆周和轴线两个方向的进给运动,进而由磨削轮磨去工作表面的多余材料。其加工直径大小靠调整磨削轮与导轮中心距离保证。

机械制造工程_11.1外圆表面加工(图文教程),机械制造工程_11.1外圆表面加工,加工,教程,第2张

图 11-3 无心磨床工作部分及工作示意图

1—磨削轮 2—工件 3—导轮 4—托架

无心磨削不采用普通外圆磨床的装夹方法,只需操作者将工件一个接一个地放在导板上即可。这是一种生产率很高的精加工方法。由于首件磨削时调整较费时,故适于较大批量加工直径不大的小型轴、销类零件,其加工精度可达IT5~6,表面粗糙度Ra值为0.16~1.25μm。但由于无心磨削是以加工表面本身定位磨削,故不能提高加工表面的位置精度,也不适于加工断续的(如带键槽、平台)外圆面。

(二)外圆磨削方式

1.纵磨法(如图11-4所示)

由于纵磨法所用砂轮宽度较小,磨削深度小,产生的磨削力小、磨削温度低,且砂轮表面缺陷不会复映至工作表面,所以加工精度较高,表面粗糙度较低,适用于长度与直径比较大的外圆表面的磨削。

2.横磨法(如图11-5所示)

此法由于采用了大于工件加工表面长度的宽砂轮,且只以小的进给量作横向移动,直到磨去全部余量而达到尺寸要求,因此生产率高。但由于散热条件差,磨削温度高,径向切削力大,因此工件易变形和烧伤。另外,砂轮表面的修整质量和磨损会直接影响工件表面加工质量,所以加工质量较纵磨法低,常用于大批量加工刚性较好、质量要求不太高的短工件外圆面。

3.深磨法(如图13-6所示)

此法采用修整成锥面或带台阶的砂轮,以较小的纵向进给量、较大的磨削深度磨削,生产率较高,加工质量介于纵横磨法之间。适用于长度和直径尺寸都较大、刚性好、余量大而硬度又较高的外圆表面,以磨代车,粗精加工合一的条件下。

机械制造工程_11.1外圆表面加工(图文教程),机械制造工程_11.1外圆表面加工,加工,教程,第3张

图11-4 纵磨法 图11-5 横磨法 图11-6 深磨法

(三)高质量磨削

1.高速磨削

此法采用特制高强度、大直径的砂轮,配以高速电机,使磨削速度达到80~120m/s。其加工精度、表面质量和生产率都高于一般磨削,是一种高效、高质量的磨削。但此法要求机床具有较高的精度和足够的刚性,以保证高速磨削条件下的平衡性。此外,由于产生的切削热量多,工件表面温度高,需要机床配备有充分的冷却液循环装置,以免使加工表面过热而烧伤。

2.高表面质量磨削

达到工件表面粗糙度Ra>0.008~0.16μm要求的磨削方法称为高质量磨削。在高精度或精密磨床上,采用细粒度的砂轮,经过精细修整后,由于磨粒微刃的等高性好,在摩擦、抛光等综合作用下,可使工件表面粗糙度达到Ra值小于或等于0.01μm。此法与研磨等其他光整加工方法相比,不仅效率高而且可提高加工表面的形状精度和位置精度,但机床费用较高。

(四)外圆表面的光整加工

光整加工是指研磨、珩磨、超级光磨、抛光等加工方法,是在工件表面已精加工的基础上的继续加工,目的是达到更高的加工精度(IT6以上)和更好的表面质量。

1.外圆的研磨

一般小批量的外圆研磨

是在车床上用研具加研磨剂手工进行的。研磨运动如图11-7所示。研具工作面形状与工件加工面形状对应,研具材料要比工件软些,以便在压力作用下,使部分磨粒嵌入研具工件面表层,产生对工作表面的切削作用。常用研具材料有铸铁、青铜等。研磨剂由极细的磨料和研磨液组成。研磨液用煤油加机油或植物油,再加入适量化学活性较强的油酸、脂肪酸等。

研磨机理为微量切削加化学氧化等综合作用的结果,其工艺特点如下:

(1)研磨与其他光整加工方法相比,除磨粒的微量切削作用外,还有油酸或脂肪酸的化学氧化作用,使产生的切削力更小,切削热更少,因此研磨过程工件几乎不受切削力和切削热的不利影响,故能达到很高的尺寸精度(IT5以上),很低的表面精糙度(Ra值在0.01~0.16μm),此外研磨还可以提高加工表面的几何形状精度。

(2)由于研磨过程中工件与研具间位置不是固定的,而是随机的,因此研磨不能提高加工表面的相互位置精度。

(3)研磨与高质量磨削相比生产率低,但不需要精密复杂、昂贵的设备,且方法简单,容易保证加工质量。

为提高研磨效率,较大批量零件的研磨可在半自动研磨机上进行。

2.超级光整

超级光磨是在超级光磨机上用磨头进行的加工方法。如图11-8所示。

加工时工件作低速转动(V=0.2m/s左右),磨头沿工件轴向作较低频率(6~25次/s)和较小幅度(3~6mm)往复运动的同时,还沿着工件轴向做缓慢的进给运动(0.1~0.15mm/r)。由于这三种运动的复合,再加之组成磨头的磨条磨料极细,对工件表面压力很小,且能做到充分冷却润滑,因此不仅切削余量极小,切削力极小,切削温度不高,且在工件表面产生的切削痕迹是很细密复杂的交叉网纹,故超级光磨能获得很低的表面粗糙度,但不能提高形状精度和位置精度。与研磨相比,超级光磨工艺特点如下:

(1)超级光磨机床为半自动加工,不仅工人劳动强度比手工研磨低,且一人可兼管几台机床,劳动生产率也较高。

(2)由于超级光磨磨头的结构特点,与研磨要比,更适于直径和长度尺寸较大的外圆表面的超精加工。

机械制造工程_11.1外圆表面加工(图文教程),机械制造工程_11.1外圆表面加工,加工,教程,第4张

图11-7 外圆研磨 图11-8 外圆超级光磨

3.抛光

抛光是用涂有抛光膏的高速旋转的弹性抛光轮对工件表面进行光整加工的方法。抛光膏由磨粒和油脂混合而成,其作用与研磨剂相同。弹性抛光轮可分别用毛毡、皮革、帆布、绸布等叠加而成。抛光的机理包括附着在抛光轮表面的磨粒对工件表面的微量切削作用,抛光轮表面纤维在离心力作用下对工件表面的甩打、滚压和强烈摩擦作用(抛光轮速度可达30~40m/s),使工件表层金属出现极薄的塑流层,对不平处起到填平作用,从而获得高质量的加工表面,表面粗糙度Ra值达0.08~1.25μm。由于抛光一般为手工操作,工件与抛光轮的位置是随机的,故去除余量不甚均匀,加工精度不高。主要用于加工精度要求不高而表面要求光洁的工件,提高零件的疲劳强度、耐蚀性或作表面装饰等。也常用于形状复杂不宜采用其他方法加工的立体成形面的光整加工,如飞机叶片叶身的最后加工等。

为解决手工抛光生产率低,工人劳动强度大的问题,近些年来出现的液体抛光、电解抛光等新工艺得到愈来愈多的应用。

三、外圆表面加工方案及应用条件

综上所述,外圆表面的主要加工方法有车削、磨削和光整加工等。由于外圆表面的精度、表面粗糙度等技术要求和材料硬度、生产类型等条件不同,所采用的加工方案也不同,外圆表面的加工方案如图11-9所示。

1. 粗车—半精车—精车

这是应用最广的一个加工方案。只要工件材料可以切削加工,加工精度等于或低于IT7,表面粗糙度等于或大于Ra0.8μm外圆表面都可以采用这种加工方案。如果精度要求较低,可以只取粗车,也可以只取粗车—半精车。

2.粗车—半精车—粗磨—精磨

对于黑色金属材料,特别

是对于半精车后有淬火要求,加工精度等于或低于IT6,表面粗糙度等于或大于Ra0.16μm 的外圆表面,一般可安排这条加工路线加工。

机械制造工程_11.1外圆表面加工(图文教程),机械制造工程_11.1外圆表面加工,加工,教程,第5张

机械制造工程_11.1外圆表面加工(图文教程),机械制造工程_11.1外圆表面加工,加工,教程,第6张

机械制造工程_11.1外圆表面加工(图文教程),机械制造工程_11.1外圆表面加工,加工,教程,第7张

图11-9 外圆表面加工方案

3.粗车—半精车—精车—金刚石车

用于精度要求高、工件材料为有色金属(如铜合金、铝合金),不宜采用磨削方法加工的外圆表面。

金刚石车是在精密车床上用金刚石车刀进行车削,这种方法已用于尺寸精度为0.1μm数量级和表面粗糙度为Ra0.01μm数量级的超精密加工之中。

4.粗车—半精车—粗磨—精磨—研磨(超精加工、砂带磨、镜面磨或抛光)

这是在前面加工路线2的基础上又加进研磨、超精加工、砂带磨、镜面磨或抛光等精密、超精密加工或光整加工。这些加工方法多以减少表面粗糙度、提高尺寸精度、形状和位置精度为主要目的,抛光、砂带磨等以减少表面粗糙度为主。

免责声明:
1;所有标注为智造资料网zl.fbzzw.cn的内容均为本站所有,版权均属本站所有,若您需要引用、转载,必须注明来源及原文链接即可,如涉及大面积转载,请来信告知,获取《授权协议》。
2;本网站图片,文字之类版权申明,因为网站可以由注册用户自行上传图片或文字,本网站无法鉴别所上传图片或文字的知识版权,如果侵犯,请及时通知我们,本网站将在第一时间及时删除,相关侵权责任均由相应上传用户自行承担。
[complaint:内容投诉]
智造资料网打造智能制造3D图纸下载,在线视频,软件下载,在线问答综合平台 » 机械制造工程_11.1外圆表面加工(图文教程)