一、浇注位置的确定
【浇注位置】浇注时铸件在铸型中所处的位置称为浇注位置。铸件的浇注位置对铸件的质量、尺寸精度、造型工艺的难易程度都有很大的影响。通常按下列基本原则确定浇注位置。
(1)铸件的重要工作面或主要加工面朝下或位于侧面。浇注时金属液中的气体、熔渣及铸型中的砂粒会上浮,有可能使铸件的上部出现气孔、夹渣、砂眼等缺陷,而铸件下部出现缺陷的可能性小,组织较致密。如图所示机床床身的浇注位置,应将导轨面朝下,以保证该重要工作面的质量。如图所示的卷扬筒,其圆周面的质量要求较高,采用立浇方案,可使圆周面处于侧面,保证质量均匀一致。 如图机床床身的浇注位置,应将导轨面朝下,以保证该重要工作面的质量。
|
|
床身的主要工作面朝下 | 卷扬筒的工作面置于侧壁 |
(2)铸件的大平面朝下或倾斜浇注。由于浇注时炽热的金属液对铸型的上部有强烈的热辐射,引起顶面型砂膨胀拱起甚至开裂,使大平面出现夹砂、砂眼等缺陷。大平面朝下或采用倾斜浇注的方法可避免大平面产生铸造缺陷。下图为平板铸件的浇注位置。
|
大平面朝下 |
(3)铸件的薄壁朝下、侧立或倾斜。 为防止铸件的薄壁部位产生冷隔、浇不到缺陷,应将面积较大的薄壁置于铸件的下部,或使其处于侧壁或倾斜位置,如图所示。
|
薄壁铸件的浇注位置 |
(4)铸件的厚大部分应放在顶部或在分型面的侧面。主要目的是便于在厚处安放冒口进行补缩,如图阀体的冒口补缩和图卷扬筒的重要面位于侧面所示。
二、分型面的选择
【分型面】是铸型组元间的接合面。为便于起模,一般分型面选择在铸件的最大截面处。分型面的选定应保证起模方便、简化铸造工艺、保证铸件的质量。确定分型面应遵循如下原则。
(1)分型面应选择在模样最大截面处,以便于起模。如图所示。
|
分型面选在最大直径处 |
(2)尽量减少分型面。分型面少则容易保证铸件的精度,并可简化造型工艺。对机器造型来说,一般只能有一个分型面,下图所示的绳轮铸件,大批量生产时,为便于机器造型,可按a分型方案,采用环状型芯,将二个分型面减少为一个分型面。当然在单件生产时,采用手工造型时,为减少工装的制造,采用b方案,三箱造型,二个分型面也是合理的。
(a) (b) |
绳轮铸件的分型面 |
(3)尽量使分型面平直。为了使模样制造和造型工艺简便,如图所示弯曲连杆的分型面,不应采用弯曲的分型面(b方案),而应采用平直的分型面(a方案)。
|
弯曲连杆的分型面 |
(4)尽量使铸件的全部或大部分位于同一砂箱中。铸件处于同一砂箱中,既便于合型,又可避免错型,以保证铸件的精度。下图水管堵头的二种分型方案,图中a分型方案较合理,使基准面与加工面位于同一砂箱中,铸件的精度易保证。
|
水管堵头的分型面 |
(5)尽量使型芯位于下箱,并注意减低砂箱的高度。这样可简化造型工艺、方便下芯和合型、便于起模和修型。如图缩示机床立柱的分型方案,采用Ⅱ方案比较合理,可使型腔和型芯大部分处于下箱中,便于起模、下芯、合型。
| ||||||||||||||||||||||||||||||||||||||||||
机床立柱的分型面 三、工艺参数的选定 (1)机械加工余量和公差 【机械加工余量】是指铸件加工面上预留的、准备切除的金属层厚度。加工余量取决于铸件的精度等级,与铸件材料、铸造方法、生产批量、铸件尺寸、浇注位置等因素有关。 铸件的尺寸公差 CT,其精度等级从高到低有1、2、3......16共16个等级;加工余量等级MA,从精到粗可分为A、B、C、D、E、F、G、H、J共9个级别。下表为砂型铸造常用铸造合金单件和小批生产时公差等级及与之配套的加工余量等级。
铸件的公差等级和加工余量等级确定后,加工余量数值可根据 GB/T11350-1989选取;公差的数值可按 GB6414—86 选取。 为简化铸造工艺,铸件上的小孔和槽可以不铸出,而采用机械加工。一般铸铁件上直径 <30mm、铸钢件上直径<40mm的孔可以不铸出。 (2)起模斜度 【起模斜度】为使模样(或型芯)易从铸型(或芯盒)中取出,在模样(或芯盒)上与起模方向平行的壁的斜度称为起模斜度,可用角度 α 或宽度 a表示,提倡使用宽度a。模样的起模斜度可采用增加壁厚、加减壁厚、减小壁厚三种取法,如图所示。 对于需要机械加工的壁必须采用增加壁厚法。 起模斜度需要增减的数值可按有关标准选取,采用粘土砂造型时的起模斜度可按 JB/T5105—1991确定。一般木模的斜度 α =0.3°~3°,a=0.6~3.0mm;金属模的斜度α=0.2°~2°,a=0.4~2.4mm。模样越高,斜度越小。当铸件上的孔高度与直径之比小于1(H/D<1)时,可用自带芯子的方法铸孔,用自带芯子的起模斜度一般应大于外壁斜度。
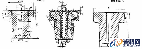
(3)收缩率 为补偿铸件在冷却过程中产生的收缩,使冷却后的铸件符合图样的要求,需要放大模样的尺寸,放大量取决于铸件的尺寸和该合金的线收缩率。一般中小型灰铸铁件的线收缩率约取 1%;非铁金属的铸造收缩率约取1.5%;铸钢件的铸造收缩率约取2%。 ( 4)铸造圆角 【铸造圆角】模样壁与壁的连接和转角处要做成圆弧过渡,称为铸造圆角。铸造圆角可减少或避免砂型尖角损坏,防止产生粘砂、缩孔、裂纹。但铸件分型面的转角处不能有圆角。铸造内圆角的大小可按相邻两壁平均壁厚的 1/3~1/5选取,外圆角的半径取内圆角的一半。 (5)芯头 【芯头】是指砂芯的外伸部分,用来定位和支承砂芯。如图所示。芯头有垂直和水平芯头两种。芯座是指铸型中专为放置芯头的空腔。芯头和芯座尺寸主要有芯头长度 L(高度H)、芯头斜度 α 、芯头与芯座装配隙s等,其数值与型芯的长度(高度)和直径有关,应查阅相关资料后确定(本书略)。
四、浇注系统 【浇注系统】是为填充型腔和冒口而开设于铸型中的一系列通道。 (1)浇注系统的组成与作用 通常有浇口杯、直浇道、横浇道、内浇道和冒口等组成。合理地设计浇注系统,可使金属液平稳地充满铸型型腔;控制金属液的流动方向和速度;调节铸件上各部分的温度,控制冷却凝固顺序;阻挡夹杂物进入铸型型腔。冒口起补缩、排气和集渣作用。 (2)浇注系统的类型 按金属液导入型腔的位置,浇注系统可分为底注式、顶注式、中注式、阶梯式等,见下图。
| ||||||||||||||||||||||||||||||||||||||||||
1;所有标注为智造资料网zl.fbzzw.cn的内容均为本站所有,版权均属本站所有,若您需要引用、转载,必须注明来源及原文链接即可,如涉及大面积转载,请来信告知,获取《授权协议》。
2;本网站图片,文字之类版权申明,因为网站可以由注册用户自行上传图片或文字,本网站无法鉴别所上传图片或文字的知识版权,如果侵犯,请及时通知我们,本网站将在第一时间及时删除,相关侵权责任均由相应上传用户自行承担。
[complaint:内容投诉]
智造资料网打造智能制造3D图纸下载,在线视频,软件下载,在线问答综合平台 » 铸造工艺过程详细分析











(a) 增加铸件厚度 (b)加减铸件厚度 (c)减小铸件厚度






