模具设计知多少?注塑件设计要点都在这

塑料是四大工程材料(钢铁、木材、水泥和塑料)之一,它是以高分子量的合成树脂为主要成份,广泛应用于工业、农业、国防等行业。但是塑料与其它材料相比又具有自己的一些特有的性能,这些性能决定它的一些特有的使用场合、加工方法、生产工艺等。

  • 塑料的分类

塑料按照受热属性分类,分为热固性和热塑性两种,区分两种塑料的规则一般是在一定温度加热一段时间或加入硬化剂后有无发生化学反应而硬化,发生化学反应而硬化的叫热固性塑料,反之则叫热塑性塑料。

塑料按照基本性能分类主要分为通用塑料、工程塑料、功能塑料。通用塑料主要有聚乙烯(PE)、聚丙烯(PP)、聚苯乙烯(PS)、聚氯乙烯(PVC)、ABS,特点是产量大,价格底,性能一般。工程塑料主要有聚酰胺(PA)、 聚碳酸(PC)、 聚甲醛、聚苯醚 等,特点是优异的机械性能,电性能,化学性能,耐热性,耐磨性和尺寸稳定性,工程塑料的产量相对较少,价格较贵。功能塑料主要有医用塑料、光敏塑料等,具有特种功能的塑料。

  • 塑料的成形方式:

一般来说塑料的成型方法有以下几种:注射成型、挤压成型、压铸成型、发泡、吹塑、真空吸塑、中空成型、机加工等。

由于塑料的种类及性能、使用场合、成型工艺等条件的影响,对塑料件的结构设计也就自然会产生一些特殊的要求及方法,涉及的内容相当多。而我本人主要接触的是注射成型的热塑性塑料件的结构设计,我的分享主要针对这个模块。

注塑成型

将颗粒状或粉末状塑料置于注射机料筒内加热,使其熔融后用推杆或旋转螺杆施加压力,使料筒内的胶料丛喷嘴和模具的浇注系统注射到模具型腔中冷却成型的方法。详见下图1、图2.

模具设计知多少?注塑件设计要点都在这,模具设计知多少?注塑件设计要点都在这,塑料,成型,圆角,第1张

图1 注塑成型示意图

模具设计知多少?注塑件设计要点都在这,模具设计知多少?注塑件设计要点都在这,塑料,成型,圆角,第2张

图2 注塑机整体结构

我主要从制品的壁厚、拔模角、加强筋、孔、支柱、卡扣、过盈连接、公差等几个要素分享注塑件的结构设计要点。

一、壁厚

合理确定塑件的壁厚是非常重要的,其它的形体和尺寸如加强筋和圆角等都是以壁厚为参照的。塑料产品的壁厚主要决定于塑料的使用要求,即产品需要承受的外力、是否作为其他零件的支撑、选用的塑胶材料属性、重量、电气性能、尺寸精度和稳定性以及装配等各项要求而定。

一般的热塑性塑料壁厚设计在1~6mm范围。最常用的为2~3mm。大型件也有超过6mm的。表1是一些热塑性塑料壁厚的推荐值。

模具设计知多少?注塑件设计要点都在这,模具设计知多少?注塑件设计要点都在这,塑料,成型,圆角,第3张

表1 热塑性塑料壁厚的推荐值

1、壁厚不均匀

壁厚均匀是塑料件设计的一大原则。如果壁厚不均匀,会使塑料熔体的充模速度和冷却收缩不均匀,由此会引起凹陷、真空泡、翘曲、甚至开裂,更甚者导致产生缩水印、热内应力、挠曲部份歪曲、颜色不同或不同透明度。在取较小壁厚时,制品在使用和装配时的强度和刚度会差。从经济角度来看,过厚的产品不但增加物料成本,还延长生产周期。厚胶的地方比旁边薄胶的地方冷却得慢,因而产生缩痕。下图3可供叁考。

模具设计知多少?注塑件设计要点都在这,模具设计知多少?注塑件设计要点都在这,塑料,成型,圆角,第4张

图3 均匀壁厚设计

若厚胶的地方渐变成薄胶的是无可避免的话,应尽量设计成渐次的改变,并且在不超过壁厚3:1的比例下,如下图4

模具设计知多少?注塑件设计要点都在这,模具设计知多少?注塑件设计要点都在这,塑料,成型,圆角,第5张

图4 壁厚过渡

其实大部份厚胶的设计可使用加强筋来改变总壁厚。除了可节省物料来节省生产成本外,还可以节省冷却时间,冷却时间大概与壁成正比。

此外壁厚的设计还要考虑流程,即熔料从浇口起流向型腔各处的距离。一般工艺参数下流程与壁厚有一定的比例关系,壁厚越大流程越长,如果流程与壁厚的比值太大,离浇口远的地方就会出现缺料也就是常说的打不饱。因此必要的情况下还需增加壁厚。

2. 尖锐的角

尖锐的角位通常会导致部件有缺陷及应力集中,尖角的位置常在后处理过程后引起不希望的物料聚积,比如电镀、喷涂。集中应力的地方会在受负载或撞击的时候破裂,所以我们设计时应该避免尖角。下图5可供叁考。

模具设计知多少?注塑件设计要点都在这,模具设计知多少?注塑件设计要点都在这,塑料,成型,圆角,第6张

图5 尖角

二、脱模方向及拔模斜度

每个注塑产品在开始设计时首先要确定其开模方向和分型线,以保证尽可能减少抽芯机构和消除分型线对外观的影响。开模方向确定后,产品的加强筋、卡扣、凸起等结构尽可能设计成与开模方向一致,以避免抽芯、减少拼缝线,延长模具寿命。开模方向确定后,可选择适当的分型线,以改善外观及性能。

注塑件从成型模具中脱模运动时,要克服脱模力和开模力。开模是指塑件外形从型腔中脱出。模内塑件在冷却过程中产生收缩,孔壁部分对型芯产生包紧力。开模时塑件与型芯产生摩擦力、孔底密封件开模时产生真空吸附,诸多原因说明脱模力比开模力大得多。过大的脱模力会使塑件变形、发白、起皱和表面擦伤。脱模斜度是决定脱模力大小的一大因素。因注塑件冷却收缩后多附在凸模上,为了使产品壁厚均匀及防止产品在开模后附在较热的凹模上,出模角对应於凹模及凸模是应该相等的。不过,在特殊情况下若然要求产品于开模后附在凹模的话,可将相接凹模部份的出模角适当减少,或刻意在凹模加上适量的倒扣位。

拔模角的大小没有一个定数,通常是根据经验值确定。一般来说,高度抛光的外壁可使用1/8度或1/4度的出模角,深入或附有织纹的产品要求出模角作相应的增加,习惯上每0.025mm深的织纹,便需要额外1度的出模角。

此外在考虑脱模斜度时,原则上越大越有利于脱模,但必须注意保证塑件的尺寸精度,脱模斜造成的尺寸误差必须控制在尺寸精度范围内。对于收缩较大,形状复杂的塑件应考虑较大的脱模角。注塑件设计要点(二)

三、加强筋

塑料件的强度并不完全依其壁厚增加而增大。相反,因为壁厚的增加引起收缩而产生内应力,反而降低其强度。塑料件的强度以刚度为主,多采用薄壁风格组合结构,在相应部位设置加强筋,以提升截面惯性矩。

但是加了加强筋后,加强筋与主壁的连接处就一定会变厚,这个厚度通常取决于内切的最大圆,也就是取决于筋厚和根部的圆角半径。如图6中,基料厚均为4mm,左图筋要部厚度为4mm,筋根圆角为R2.4,其最大内切圆直径为φ6.2;右图仅将筋厚变为2mm,筋根圆角半径改成R1.6,则最大内切圆直径变为φ4.9。如图7由于局部壁厚增加,在其背面就容易产生收缩变形,影响塑件的外观,对于表面要求非常高的零件,此类影响外观的缺陷是非常不允许的。正确的设计可以减少组件形成表面凹痕的可能,以提高零件的质量。

模具设计知多少?注塑件设计要点都在这,模具设计知多少?注塑件设计要点都在这,塑料,成型,圆角,第7张

图6 加强筋

模具设计知多少?注塑件设计要点都在这,模具设计知多少?注塑件设计要点都在这,塑料,成型,圆角,第8张

图7 加强筋缩水部位

从图6的分析中可以看出筋要的厚度应尽量减小,但这也是有限制的。如筋的厚度太小就必须增加筋的高度以增加刚度。筋太薄受压时筋容易变形、成型时料不易填满、粘模等问题。当然筋底圆角半径也不能太小,否则就起不到减小应力集中的作用。

一般来说,筋根圆角半径应不小于筋厚的40%,筋厚应是基料壁厚的50%~75%之间,高的比值仅限小收缩率的材料。筋的高度应该小于基料厚的五倍。筋上必须有脱模角且必须置于顺脱模的方向上或者采用活动模具组件。筋与筋之间的间距必须大于基料厚的两倍。

此外我们通常都希望一个零件在各个方向上都具有同样的刚性,获得这样结果的最简单的方法就是在零件的横向和纵向都加上筋,并使它们垂直相交。但同时也会出现问题,就是在相交的地方会增加壁厚,增大收缩的机会。一般这种情况可以在相交处加一圆孔以便形成均匀的壁厚。如下图:

模具设计知多少?注塑件设计要点都在这,模具设计知多少?注塑件设计要点都在这,塑料,成型,圆角,第9张

图8 十字筋

四、孔

在塑胶件上开孔使其和其它部件相接合或增加产品功能上的组合是常用的方法,洞孔的大小及位置应尽量不会对产品的强度构成影响或增加生产的复杂性,以下是在设计洞孔时须要考虑的几个因素。

1、相连洞孔的距离或洞孔与相邻产品直边之间的距离不可少于洞孔的直径,特别靠边的值应尽可能大一些,否则穿孔位置容易产生断裂的情况。要是孔内附有螺纹,则螺孔与产品边沿的距离一般来说大于孔径的三倍。

2、孔的类型一般有通孔,盲孔和分级孔等。从装配的角度来看,通孔的应用比盲孔多,而且比盲孔容易生产。从模具设计的角度来看,通孔的设计在结构上也会方便一些,可以通过固定在动模和定模上的两个型芯结合来形成,也可以只固定在动模或定模上的一根型芯而成型。前者在流体塑料的作用下形成两个悬臂梁,但力臂较短,变形不大。后者与动模和定模都有搭接,一般来说形成简支梁,变形也不大。应用两型芯成型时,两型芯的直径应稍有不同以避免因为两条边钉轴心稍有偏差而引致产品出现倒扣的情况,而且相接的两个端面必须磨平。而盲孔的型芯则完全是悬臂梁,受到流体塑料的冲击后容易弯曲,成形的孔会变成异形孔,一般来说,盲孔的深度只限於直径的两倍。要是盲孔的直径只有或小于1.5mm,盲孔的深度更不应大於直径的尺寸。且盲孔的底部壁厚应不小于孔径的六分之一,否则会出现收缩。

3、侧孔往往是通过侧抽芯的方法成型,这会增加模具的成本,且如果侧芯太长的话容易断,增加模具维护费用。如果情况允许的话可采用如下图9的方法加以改善。

模具设计知多少?注塑件设计要点都在这,模具设计知多少?注塑件设计要点都在这,塑料,成型,圆角,第10张

图9 侧孔

五、支柱

支柱突出胶料壁厚是用以装配产品、隔开物件及支撑其他零件之用。空心的支柱可以用来嵌入件、收紧螺丝等。这些应用均要有足够强度支持压力而不致于破裂。支柱一般做成圆柱形,因为圆柱易于模具成型,此外具有较好的力学性能。

一般来说支柱尽量不要设计成独立的圆柱,应尽量连接至外壁或与加强筋一同使用,目的是加强支柱的强度及使胶料流动更顺畅,与外壁的连接需做成薄壁连接避免缩水,支柱的底部与基料的连接处需做出0.4到0.6倍基料厚的圆角半径。支柱的壁厚应在0.5到0.75的基料厚之间,支柱的顶部内孔为方便安装螺钉导向应有倒角。支柱上需有拔模斜度。这几点都与加强筋的设计要求相类似,因此也可以说支柱是筋的变种。以上相应关系请参见如下图10与图11

模具设计知多少?注塑件设计要点都在这,模具设计知多少?注塑件设计要点都在这,塑料,成型,圆角,第11张

图10 支柱截面图

模具设计知多少?注塑件设计要点都在这,模具设计知多少?注塑件设计要点都在这,塑料,成型,圆角,第12张

图11 支柱俯视图

许多支柱凸台的作用是用来连接自攻螺钉,装配后支柱上的内螺纹是通过冷流加工形成的,冷流加工不产生料的切削,只是将塑料挤压变形来产生衔接的内螺纹。

螺纹支柱的尺寸要既能承受螺钉的旋入力又能承受附载,支柱上的孔径大小要能保证螺钉在特定扭矩及特定振动下不脱出,支柱的外径要能保证螺钉扭紧过程中承受所产生的周向力而不断裂、不破裂。此外为了保证在自攻螺钉旋入导向的方便,一般在支柱的顶部开一凹坑,凹坑的直径应略大于螺纹的公称直径。支柱的尺寸计算是非常繁杂的,在这推荐一种国外网站上的简单估算方法,这个方法的关键是螺钉的公称直径。首先必须写出所用的材料,然后再从右边查出相应的系数,用螺钉的公称直径乘以相应的系数就能得出相应的尺寸。如图12、图13

模具设计知多少?注塑件设计要点都在这,模具设计知多少?注塑件设计要点都在这,塑料,成型,圆角,第13张

图12 螺纹支柱

模具设计知多少?注塑件设计要点都在这,模具设计知多少?注塑件设计要点都在这,塑料,成型,圆角,第14张

图13. 螺纹支柱算法系数

因为塑料相对金属材料来说性能不是很稳定,因此根据以上计算出来的支柱尺寸,并不一定完全合乎要求,具体情况还要根据材料供应商提供的相关材料参数来定,重要场合必须做实验来验证。

六、卡扣

卡扣装配是一种装配方便,节约成本,绿色环保的连接方式,因为卡扣的组合部份在生产成品的时候同时成型,装配时无须配合其他如螺丝等锁紧配件,只要需组合的两边扣位互相配合扣上即可。

卡扣的原理是推动一零件上的凸出部分通过另一零件上的障碍物,在推动过程中发生弹性形变,当通过障碍物后恢复原状两者合在一起,如图14.卡扣连接有永久性和可拆性两种。

模具设计知多少?注塑件设计要点都在这,模具设计知多少?注塑件设计要点都在这,塑料,成型,圆角,第15张

图14. 卡扣扣合

从结构形式上又可分为搭接扣,环形扣和球形扣三种,具体如图15

模具设计知多少?注塑件设计要点都在这,模具设计知多少?注塑件设计要点都在这,塑料,成型,圆角,第16张

图15. 卡扣类型

对接卡钩上一般有两个关键的角度:脱开角与咬合角,一般脱开角较大,以便达到较难脱开的目的,如果当脱开角接近90度时,就成为永久性卡扣。具体关系如下图16.

模具设计知多少?注塑件设计要点都在这,模具设计知多少?注塑件设计要点都在这,塑料,成型,圆角,第17张

图16. 永久性卡扣

等截面卡扣的最大允许挠曲量可用如下公式计算:Y=el2/(1.5t)

此公式是在只有卡钩变形的情况下使用的,在实际情况下卡扣所在的部位附近也会有少量变形,这可以当作安全系数。

推动卡扣产生Y变形所需的力用下式计算:P=wt2Ee/(6l)

所需的装配力用下式估算:W=P(μ+tga)/(1-tga)

对于可拆式卡扣的脱开力也可用以上公式计算,只需将a用b代替即可。

下表为计算过程中所需要的一些系数:

模具设计知多少?注塑件设计要点都在这,模具设计知多少?注塑件设计要点都在这,塑料,成型,圆角,第18张

图17. 卡扣计算系数

圆环卡扣是利用圆环内凸台与轴的槽相扣来达到对接的目的,圆环卡扣根据释放角的大小也可分为可拆接和不可拆接之分。当接合件插入和拔出时,卡套膨胀变形,一般来说用作卡套的材料就是弹性比较好的材料。

模具设计知多少?注塑件设计要点都在这,模具设计知多少?注塑件设计要点都在这,塑料,成型,圆角,第19张

图18. 圆形卡扣

圆环扣的凸台最大尺寸可用下式计算:

y=Sd((K+v套)/E套+(1-v轴)/E轴)/K

式中S为设计应力,v为泊松比,E为弹性模量,K为几何系数,K可用下式计算:K=(1+(d/D)2)/(1-(d/D)2)

作用在卡套上的膨胀力可用下式计算:

P=(tan a+μ)/Sydlπ/K

式中μ为摩擦系数。

下面表2中给出了一些未加填充料的材料的泊松比,摩擦系数见图17。

模具设计知多少?注塑件设计要点都在这,模具设计知多少?注塑件设计要点都在这,塑料,成型,圆角,第20张

表2. 材料泊松比

七、过盈连接

孔与轴采用过盈配合连接起到传递转矩等作用,过盈连接是一种比较方便与简洁的。在设计的过程中最主要的考虑是过盈量,如果过盈量太小则连接不可靠,如果过盈过大则很难装配,而且也容易破裂。

在设计时还需考虑孔与轴的公差以及工作温度等,因为温度的高低会直接影响过盈量的大小。大多数情况下轴一般都为金属轴,为了保证连接的可靠性,在设计时一般在配合轴上加上滚花凹槽。一般的过盈量可用下式计算:

Y=Sd( (K+v套)/E套)/K

式中S为设计应力,v为泊松比,E为弹性模量,K为几何系数,K可用下式计算:

K=(1+(d/D)2)/(1-(d/D)2)

装配力可用下式计算:W=Sdlπμ/K

μ为摩擦系数,l为配合长度。摩擦系数及泊松比见表2及图17。

模具设计知多少?注塑件设计要点都在这,模具设计知多少?注塑件设计要点都在这,塑料,成型,圆角,第21张

图19 过盈配合

此外塑料件间的连接方法还有热铆,熔焊,超声波焊接等。

八、公差影响

大部份的塑胶产品可以达到高精密配合的尺寸公差,而一些收缩率高及一些软性材料则比较难于控制。因此在产品设计过程时是要考虑到产品的使用环境,塑胶材料,产品形状等来设定公差的严紧度。因为顾客的要求愈来愈高,以往的可以配合起来的观念慢慢的要修正过来。配合、精密和美观是要同时的能在产品上发挥出来。

公差的精密度高,产品质素相对提高,但随之而来的是增加了成本和因达到要求而花更多的时间。注射成型一般分为3种质量等级,即一般用途的注射成型、中等精度成型和精密注射成型。

一般用途的注射成型要求低水平的质量控制,其特点是低的退货率和快的生产周期。中等精度注射成型会比较昂贵,因为它对模具和生产过程有更高的要求,要求频繁的质量检查。第三种,精密注射成型,要求精确的模具、最佳的生产条件和100%连续的生产监控。这将影响生产周期,增加单位生产成本和质量控制成本。从产品质量的角度来说,精度当然是越高越好,但从经济的生产成本来说却是越低越便宜。作为设计者此时就必须在这两者之间进行抉择。一般来说在满足性能、外观要求、配合要求的前提下适当放宽非关键尺寸的公差。

九、材料的选择

一般来说,并没有不好的材料,只有在特定的领域使用了错误的材料。因此,设计者必须要彻底了解各种可供选择的材料的性能,并仔细测试这些材料,研究其与各种因素对成型加工制品性能的影响。

在注射成型中最常用的是热塑性塑料。它又可分为无定型塑料和半结晶性塑料。这两类材料在分子结构和受结晶化影响的性能上有明显不同。一般来说,半结晶性热塑性塑料主要用于机械强度高的部件,而无定型热塑性塑料由于不易弯曲,则常被应用于外壳。

热塑性塑料备有未增强、玻璃纤维增强、矿物及玻璃体填充等种类产品。玻璃纤维主要用于增加强度、坚固度和提高应用温度;矿物和玻纤则具较低的增强效果,主要用于减少翘曲。增加增强剂后塑料性能的具体改变量需询问材料供应商或者实验验证。

一些热塑性材料,特别是PA6和PA66,吸湿性很强。这可能会对它们 的机械性能和尺寸稳定性产生较大的影响。

一些要求与加工注意事项和装配有关。研究将几种不同功能集中于一个部件也很重要,这可以节约昂贵的装配费用。这个准则对计算生产成本非常有益。在价格计算中可以看出,不但应考虑原材料的价格,还应注意,有高性能(刚性,韧性)的材料可以使壁厚更薄,从而缩短生产周期。因此,列出所有的标准,并对它们进行系统性评估是很重要的。

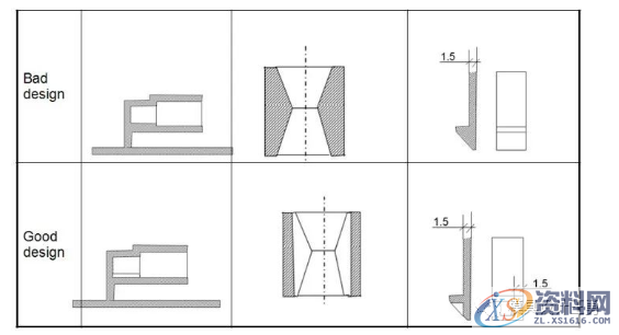
十、圆角

尖锐的角位通常会导致部件有缺陷及应力集中,集中应力的地方会在受负载或撞击的时候破裂。较大的圆角提供了这种缺点的解决方法,不但减低应力集中的因素,且令流动的塑料流得更畅顺和成品脱模时更容易。如果内角是圆角,外角是尖角,转角的地方仍比其它地方厚,仍会出现收缩的现象;我们可以使内外都成圆角,来使壁厚均匀,这种情况下外圆角是内圆角加上基本壁厚之和。

模具设计知多少?注塑件设计要点都在这,模具设计知多少?注塑件设计要点都在这,塑料,成型,圆角,第22张

图20 圆角

转角位的设计准则亦适用于悬梁式扣位。因这种扣紧方式是需要将悬梁臂弯曲嵌入,转角位置的设计图说明如果转角弧位R太小时会引致其应力集中系数过大,因此,产品弯曲时容易折断,弧位R太大的话则容易出现收缩纹和空洞。因此,圆弧位和壁厚是有一定的比例。一般介乎0.2至0.6之间,理想数值是在0.5左右。

以上,我分别从产品的壁厚、拔模角、加强筋、孔、支柱、卡扣、过盈连接、公差、圆角等方面对注塑件的结构设计要点进行了分。当然结构设计还受环境、条件、要求的限制,要具体情况具体处理。


我们是知识搬运工,我们是技术传播者!
东莞潇洒职业培训学校目前开设课程有:学历提升、积分入户、数控编程培训、塑胶模具设计培训,压铸模具设计培训、冲压模具设计培训,精雕、ZBrush圆雕培训、Solidworks产品设计培训、pro/E产品设计培训、AutoformR7工艺分析培训,非标自动化设计、PLC编程、工业机器人、CNC电脑锣操机、平面设计等培训课程,潇洒职业培训学校线下、线上等网络学习方式,随到随学,上班学习两不误,欢迎免费试学!
线上免费试学: xsmj.ke.qq.com
联系电话:18029183887(微信同号)QQ:2958861564
学校官网:www.dgxspx.com 智造人才网:www.58hr.net
学习地址:东莞市横沥镇新城工业区兴业路121号-潇洒职业培训学校

免责声明:
1;所有标注为智造资料网zl.fbzzw.cn的内容均为本站所有,版权均属本站所有,若您需要引用、转载,必须注明来源及原文链接即可,如涉及大面积转载,请来信告知,获取《授权协议》。
2;本网站图片,文字之类版权申明,因为网站可以由注册用户自行上传图片或文字,本网站无法鉴别所上传图片或文字的知识版权,如果侵犯,请及时通知我们,本网站将在第一时间及时删除,相关侵权责任均由相应上传用户自行承担。
[complaint:内容投诉]
智造资料网打造智能制造3D图纸下载,在线视频,软件下载,在线问答综合平台 » 模具设计知多少?注塑件设计要点都在这