一、注塑机的工作原理
注塑成型机简称注塑机。
注塑成型是利用塑料的热物理性质,把物料从料斗加入料筒中,料筒外由加热圈加热,使物料熔融,在料筒内装有在外动力马达作用下驱动旋转的螺杆,物料在螺杆的作用下,沿着螺槽向前输送并压实,物料在外加热和螺杆剪切的双重作用下逐渐地塑化,熔融和均化,当螺杆旋转时,物料在螺槽摩擦力及剪切力的作用下,把已熔融的物料推到螺杆的头部,与此同时,螺杆在物料的反作用下后退,使螺杆头部形成储料空间,完成塑化过程,然后,螺杆在注射油缸的活塞推力的作用下,以高速、高压,将储料室内的熔融料通过喷嘴注射到模具的型腔中,型腔中的熔料经过保压、冷却、固化定型后,模具在合模机构的作用下,开启模具,并通过顶出装置把定型好的制品从模具顶出落下。
注塑机作业循环流程如图1所示。

图1 注塑机工作程序框图
二、注塑机的分类
按合模部件与注射部件配置的型式有卧式、立式、角式三种
(1)卧式注塑机:卧式注塑机是最常用的类型。其特点是注射总成的中心线与合模总成的中心线同心或一致,并平行于安装地面。它的优点是重心低、工作平稳、模具安装、操作及维修均较方便,模具开档大,占用空间高度小;但占地面积大,大、中、小型机均有广泛应用。
(2)立式注塑机:其特点是合模装置与注射装置的轴线呈一线排列而且与地面垂直。具有占地面积小,模具装拆方便,嵌件安装容易,自料斗落入物料能较均匀地进行塑化,易实现自动化及多台机自动线管理等优点。缺点是顶出制品不易自动脱落,常需人工或其它方法取出,不易实现全自动化操作和大型制品注射;机身高,加料、维修不便。
(3)角式注塑机:注射装置和合模装置的轴线互成垂直排列。根据注射总成中心线与安装基面的相对位置有卧立式、立卧式、平卧式之分:①卧立式,注射总成线与基面平行,而合模总成中心线与基面垂直;②立卧式,注射总成中心线与基面垂直,而合模总成中心线与基面平行。角式注射机的优点是兼备有卧式与立式注射机的优点,特别适用于开设侧浇口非对称几何形状制品的模具。
三、注塑机的组成结构分析
注塑机根据注射成型工艺要求是一个机电一体化很强的机种,主要由注射部件、合模部件、机身、液压系统、加热系统、控制系统、加料装置等组成。如图2所示。

图2 注塑机组成示意图
(一)注塑部件的典型结构
1.注射部件的组成
目前,常见的注塑装置有单缸形式和双缸形式,我厂注塑机都是双缸形式的,并且都是通过液压马达直接驱动螺杆注塑。因不同的厂家、不同型号的机台其组成也不完全相同,下面就对我厂用的机台作具体分析。
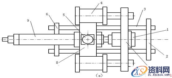
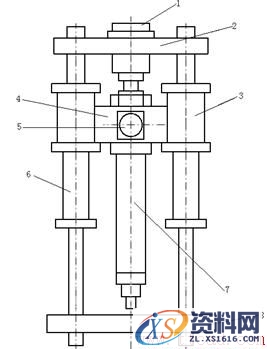
立式机和卧式机注塑装置的组成图分别如图3和图4。
工作原理是:预塑时,在塑化部件中的螺杆通过液压马达驱动主轴旋转,主轴一端与螺杆键连接,另一端与液压马达键连接,螺杆旋转时,物料塑化并将塑化好的熔料推到料筒前端的储料室中,与此同时,螺杆在物料的反作用下后退,并通过推力轴承使推力座后退,通过螺母拉动活塞杆直线后退,完成计量,注射时,注射油缸的杆腔进油通过轴承推动活塞杆完成动作,活塞的杆腔进油推动活塞杆及螺杆完成注射动作。


图3 卧式机双缸注射注塑装置示意图
(a)是俯视图; (b)为注射座与导杆支座间的平视图
1-油压马达;2,6 -导杆支座;3-导杆;4-注射油缸;5-加料口;
7-推力座;8-注射座;9-塑化部件;10-座移油缸
我厂用的角式注塑机的注射部件与卧式机注塑机一样。

图4 立式注塑机注射装置示意图
1- 液压马达;2-推力座;3-注射油缸;4-注射座;5-加料口;6-座移油缸;7-塑化部件;8-上范本2.塑化部件
塑化部件有柱塞式和螺杆式两种,下面就对螺杆式做一下介绍。
螺杆式塑化部件如图5所示,主要由螺杆、料筒、喷嘴等组成,塑料在旋转螺杆的连续推进过程中,实现物理状态的变化,最后呈熔融状态而被注入模腔。因此,塑化部件是完成均匀塑化,实现定量注射的核心部件。

图5 螺杆式塑化部件结构图
1-喷嘴;2-螺杆头;3-止逆环;4-料筒;5-螺杆;6-加热圈;7-冷却水圈
螺杆式塑化部件的工作原理:预塑时,螺杆旋转,将从料口落入螺槽中的物料连续地向前推进,加热圈通过料筒壁把热量传递给螺槽中的物料,固体物料在外加热和螺杆旋转剪切双重作用下,并经过螺杆各功能段的热历程,达到塑化和熔融,熔料推开止逆环,经过螺杆头的周围通道流入螺杆的前端,并产生背压,推动螺杆后移完成熔料的计量,在注射时,螺杆起柱塞的作用,在油缸作用下,迅速前移,将储料室中的熔体通过喷嘴注入模具。
螺杆式塑化部件一般具有如下特点:
① 螺杆具有塑化和注射两种功能;
② 螺杆在塑化时,仅作预塑用;
③ 塑料在塑化过程中,所经过的热历程要比挤出长;
④ 螺杆在塑化和注射时,均要发生轴向位移,同时螺杆又处于时转时停的间歇式工作状态,因此形成了螺杆塑化过程的非稳定性。
(1) 螺杆
螺杆是塑化部件中的关键部件,和塑料直接接触,塑料通过螺槽的有效长度,经过很长的热历程,要经过3态(玻璃态、黏弹态、黏流态)的转变,螺杆各功能段的长度、几何形状、几何参数将直接影响塑料的输送效率和塑化质量,将最终影响注射成型周期和制品质量。
与挤出螺杆相比,注塑螺杆具有以下特点:
① 注射螺杆的长径比和压缩比比较小;
② 注射螺杆均化段的螺槽较深;
③ 注射螺杆的加料段较长,而均化段较短;
④ 注射螺杆的头部结构,具有特殊形式。
⑤ 注射螺杆工作时,塑化能力和熔体温度将随螺杆的轴向位移而改变。
(ⅰ)、螺杆的分类
注塑螺杆按其对塑料的适应性,可分为通用螺杆和特殊螺杆,通用螺杆又称常规螺杆,可加工大部分具有低、中黏度的热塑性塑料,结晶型和非结晶型的民用塑料和工程塑料,是螺杆最基本的形式,与其相应的还有特殊螺杆,是用来加工用普通螺杆难以加工的塑料;按螺杆结构及其几何形状特征,可分为常规螺杆和新型螺杆,常规螺杆又称为三段式螺杆,是螺杆的基本形式,新型螺杆形式则有很多种,如分离型螺杆、分流型螺杆、波状螺杆、无计量段螺杆等。
常规螺杆其螺纹有效长度通常分为加料段(输送段)、压缩段(塑化段)、计量段(均化段),根据塑料性质不同,可分为渐变型、突变型和通用型螺杆。
① 渐变型螺杆:压缩段较长,塑化时能量转换缓和,多用于PVC等热稳定性差的塑料。
② 突变型螺杆:压缩段较短,塑化时能量转换较剧烈,多用于聚烯烃、PA等结晶型塑料。
③ 通用型螺杆:适应性比较强的通用型螺杆,可适应多种塑料的加工,避免更换螺杆频繁,有利于提高生产效率。
常规螺杆名段的长度如下:
螺杆类型 加料段(L1) 压缩段(L2) 均化段(L3)
渐变型 25~30% 50% 15~20%
突变型 65~70% 15~5% 20~25%
通用型 45~50% 20~30% 20~30%
(ⅱ)、螺杆的基本参数
螺杆的基本结构如图6所示,主要由有效螺纹长度L和尾部的连接部分组成。
图6 螺杆的基本结构
ds — 螺杆外径,螺杆直径直接影响塑化能力的大小,也就直接影响到理论注射容积的大小,因此,理论注射容积大的注塑机其螺杆直径也大。
L/ds — 螺杆长径比。L是螺杆螺纹部分的有效长度,螺杆长径比越大,说明螺纹长度越长,直接影响到物料在螺杆中的热历程,影响吸收能量的能力,而能量来源有两部分:一部分是料筒外部加热圈传给的,另一部分是螺杆转动时产生的摩擦热和剪切热,由外部机械能转化的,因此,L/ds直接影响到物料的熔化效果和熔体质量,但是如果L/ds太大,则传递扭矩加大,能量消耗增加。
L1—加料段长度。加料段又称输送段或进料段,为提高输送能力,螺槽表面一定要光洁,L1的长度应保证物料有足够的输送长度,因为过短的L1会导致物料过早的熔融,从而难以保证稳定压力的输送条件,也就难以保证螺杆以后各段的塑化质量和塑化能力。塑料在其自身重力作用下从料斗中滑进螺槽,螺杆旋转时,在料筒与螺槽组成的各推力面摩擦力的作用下,物料被压缩成密集的固体塞螺母,沿着螺纹方向做相对运动,在此段,塑料为固体状态,即玻璃态。
h1— 加料段的螺槽深度。h1深,则容纳物料多,提高了供料量和塑化能力,但会影响物料塑化效果及螺杆根部的剪切强度,一般h1≈(0.12~0.16)ds。
L3 — 熔融段长度。熔融段又称均化段或计量段,熔体在L3段的螺槽中得到进一步的均化,温度均匀,组分均匀,形成较好的熔体质量,L3长度有助于熔体在螺槽中的波动,有稳定压力的作用,使物料以均匀的料量从螺杆头部挤出,所以又称计量段。L3短时,有助于提高螺杆的塑化能力,一般L3=(4~5)ds。
h3 — 熔融段螺槽深度,h3小,螺槽浅,提高了塑料熔体的塑化效果,有利于熔体的均化,但h3过小会导致剪切速率过高,以及剪切热过大,引起分子链的降解,影响熔体质量,;反之,如果h3过大,由于预塑时,螺杆背压产生的回流作用增强,会降低塑化能力。
L2 — 塑化段(压缩段)螺纹长度。物料在此锥形空间内不断地受到压缩、剪切和混炼作用,物料从L2段入点开始,熔池不断地加大,到出点处熔池已占满全螺槽,物料完成从玻璃态经过黏弹态向黏流态的转变,即此段,塑料是处于颗粒与熔融体的共存状态。L2的长度会影响物料从玻璃态到黏流态的转化历程,太短会来不及转化,固料堵在L2段的末端形成很高的压力、扭矩或轴向力;太长则会增加螺杆的扭矩和不必要的消耗,一般L2=(6~8)ds。对于结晶型的塑料,物料熔点明显,熔融范围窄,L2可短些,一般为(3~4)ds,对于热敏性塑料,此段可长些。
S — 螺距,其大小影响螺旋角,从而影响螺槽的输送效率,一般S≈ds。
ε — 压缩比。ε=h1/h3,即加料段螺槽深度h1与熔融段螺槽深度h3之比。ε大,会增强剪切效果,但会减弱塑化能力,一般来讲,ε稍小一点为好,以有利于提高塑化能力和增加对物料的适应性,对于结晶型塑料,压缩比一般取2.6~3.0。对于低黏度热稳定性塑料,可选用高压缩比;而高黏度热敏性塑料,应选用低压缩比。
(2)螺杆头
在注射螺杆中,螺杆头的作用是:预塑时,能将塑化好的熔体放流到储料室中,而在高压注射时,又能有效地封闭螺杆头前部的熔体,防止倒流。
螺杆头分为两大类,带止逆环的和不带止逆环的,对于带止逆环的,预塑时,螺杆均化段的熔体将止逆环推开,通过与螺杆头形成的间隙,流入储料室中,注射时,螺杆头部的熔体压力形成推力,将止逆环退回流道封堵,防止回流。
表1 注射螺杆头形式与用途
形式 | 结 构 图 | 特征与用途 | |
无 止 逆 环 型 | 尖 头 形 |
| 螺杆头锥角较小或有螺纹,主要用于高粘度或热敏性塑料 |
钝 头 形 |
| 头部为“山”字形曲面,主要用于成型透明度要求高的PC、AS、PMMA等塑料 | |
止 逆 型 止 逆 型 | 环 形 |
| 止逆环为一光环,与螺杆有相对转动,适用于中、低黏度的塑料 |
爪 形 |
| 止逆环内有爪,与螺杆无相对转动,可避免螺杆与环之间的熔料剪切过热,适用于中、低粘度的塑料 | |
销 钉 形 |
| 螺杆头颈部钻有混炼销,适用于中、低粘度的塑料 | |
分 流 形 |
| 螺杆头部开有斜槽,适用于中、低粘度的塑料 | |
对于有些高黏度物料如PMMA、PC、AC或者热稳定性差的物料PVC等,为减少剪切作用和物料的滞留时间,可不用止逆环,但这样的注射时会产生反流,延长保压时间。
对螺杆头的要求:
① 螺杆头要灵活、光洁;
② 止逆环与料筒配合间隙要适宜,即要防止熔体回流,又要灵活;
③ 既有足够的流通截面,又要保证止逆环端面有回程力,使在注射时快速封闭;
④ 结构上应拆装方便,便于清洗;
⑤ 螺杆头的螺纹与螺杆的螺纹方向相反,防止预塑时螺杆头松脱。
(3)料筒
(ⅰ)、料筒的结构
料筒是塑化部件的重要零件,内装螺杆外装加热圈,承受复合应力和热应力的作用,结构如图7:

图7 料筒结构
1-前料筒;2-电热圈;3-螺孔;4-加料口
螺孔3装热电偶,要与热电偶紧密地接触,防止虚浮,否则会影响温度测量精度。
(ⅱ)、加料口
加料口的结构形式直接影响进料效果和塑化部件的吃料能力,注塑机大多数靠料斗中物料的自重加料,常用的进料口截面形式如图8所示:对称形料口如图8(a),制造简单,但进料不利;现多用非对称形式,如图8(b)、8(c)所示,此种进料口由于物料与螺杆的接触角大,接触面积大,有利于提高进料效率,不易在料斗中开成架桥空穴。

图8 加料口结构形式图
(ⅲ)、料筒的壁厚
料筒壁厚要求有足够的强度和刚度,因为料筒内要承受熔料和气体压力,且料筒长径比很大,料筒要求有足够的热容量,所以料筒壁要有一定的厚度,否则难以保证温度的稳定性;但如果太厚,料筒笨重,浪费材料,热惯性大,升温慢,温度调节有较大的滞后现象。
(ⅳ)、料筒间隙
料筒间隙指料筒内壁与螺杆外径的单面间隙,此间隙太大,塑化能力降低,注射回泄量增加,注射时间延长,在此过程中引起物料部分降解;如果太小,热膨胀作用使螺杆与料筒摩擦加剧,能耗加大,甚至会卡死,此间隙Δ=(0.002~0.005)ds。
(ⅴ)、料筒的加热与冷却
注塑机料筒加热方式有电阻电热、陶瓷加热、铸铝加热,应根据使用场合和加工物料合理设置,常用的有电阻加热和陶瓷加热,为符合注塑工艺要求,料筒要分段控制,小型机3段,大型机一般5段。
冷却是指对加料口处进行冷却,因加料口处若温度过高,固料会在加料口处“架桥”,堵塞料口,从而影响加料段的输送效率,故在此处设置冷却水套对其进行冷却。我厂是通过冷却循环水对加料口进行冷却的。
(4) 喷嘴
(ⅰ)喷嘴的功能
喷嘴是连接塑化装置与模具流道的重要部件,喷嘴有多种功能:
① 预塑时,建立背压,驱除气体,防止熔体流涎,提高塑化能力和计量精度;
② 注射时,与模具主浇套形成接触压力,保持喷嘴与浇套良好接触,形成密闭流道,防止塑料熔体在高压下外溢;
③ 注射时,建立熔体压力,提高剪切应力,并将压力头转变成速度头,提高剪切速度和温升,加强混炼效果和均化作用;
④ 改变喷嘴结构使之与模具和塑化装置相匹配,组成新的流道型式或注塑系统;
⑤ 喷嘴还承担着调温、保温和断料的功能;
⑥ 减小熔体在进出口的粘弹效应和涡流损失,以稳定其流动;
⑦ 保压时,便于向模具制品中补料,而冷却定型时增加回流阻力,减小或防止模腔中熔体向回流。
(ⅱ)、喷嘴的基本形式
喷嘴可分为直通式喷嘴、锁闭式喷嘴、热流道喷嘴和多流道喷嘴,现阶段我厂用的都是直通式喷嘴。
直通式喷嘴是应用较普遍的喷嘴,其特点是喷嘴球面直接与模具主浇套球面接触,喷嘴的圆弧半径和流道比模具要小,注射时,高压熔体直接经模具的浇道系统充入模腔,速度快、压力损失小,制造和安装均较方便。
锁闭式喷嘴主要是解决直通式喷嘴的流涎问题,适用于低黏度聚合物(如PA)的加工。在预塑时能关闭喷嘴流道,防止熔体流涎现象,而当注射时又能在注射压力的作用下开启,使熔体注入模腔。
2.注射油缸
其工作原理是:注射油缸进油时,活塞带动活塞杆及其置于推力座内的轴承,推动螺杆前进或后退。通过活塞杆头部的螺母,可以对两个平行活塞杆的轴向位置以及注射螺杆的轴向位置进行同步调整。
3.推力座
注射时,推力座通过推力轴推动螺杆进行注射;而预塑时,通过油马达驱动推力轴带动螺杆旋转实现预塑。
4.座移油缸
当座移油缸进油时,实现注射座的前进或后退动作,并保证注塑喷嘴与模具主浇套圆弧面紧密地接触,产生能封闭熔体的注射座压力。
5.对注射部件精度要求
装配后,整体注射部件要置于机架上,必须保证喷嘴与模具主浇套紧密地接合,以防溢料,要求使注射部件的中心线与其合模部件的中心线同心;为了保证注射螺杆与料筒内孔的配合精度,必须保证两个注射油缸孔与料筒定位中心孔的平行度与中心线的对称度;对卧式机来讲,座移油缸两个导向孔的平行度和对其中心的对称度也必须保证,对立式机则必须保证两个座移油缸孔与料筒定位中心孔的平行度与中心线的对称度。影响上述位置精度的因素是相关联部件孔与轴的尺寸精度、几何精度、制造精度与装配精度。
(二)合模部件
合模部件是注塑机的重要部件之一,其功能是实现启闭运动,使模具闭合产生系统弹性变形达到锁模力,将模具锁紧。
对合模部件的要求:
① 动范本的启闭模运动要高速、平稳、静音;
② 合模机构必须达到额定锁模力要求,可靠地锁紧模具;
③ 合模部件有足够的装模空间和范本行程;
④ 动范本运动要可靠安全,保护人身与模具安全,设置双重保险;
⑤ 合模部件及其模具有足够的强度和刚性。
合模部件由合模架、合模机构、调模装置、保护装置、顶出装置等组成。
1.合模机构
合模机构有液压式、机械式和机械-液压复合式。下面对我厂注塑机的合模机构做一下介绍。
(1).液压曲肘连杆式
属机械-液压复合式,其结构特点是液压缸通过曲柄连杆机构驱动模板实现启闭模运动,充分利用了曲柄连杆机构的行程、速度、力的放大特性和自锁特性,达到快速、高效和节能的效果。常用的液压曲肘连杆式形式有:双曲肘内翻式、双曲肘外翻式、撑肘式、单曲肘摆缸式和单曲肘挂缸式。
我厂所用的是双曲肘内翻式,如图9所示。这种形式的动作原理是:启闭模时,合模缸1进油,活塞杆推动双曲肘连杆机构5带动动范本6及其模具实现启闭模运动;模具接触时,曲肘连杆5处于未伸直状态,在合模油缸1推力作用下曲肘连杆机构5产生力的放大作用,使合模系统发生变形,直至曲肘连杆5伸直进入自锁为止。模具接触时连杆未伸直的程度是通过调模装置与合模油缸相配合,按工艺所要求的锁模力来调整的。

图9 双曲肘内翻式结构原理示意
1-合模油缸;2-调模装置;3-后范本;4-拉杆;5-曲肘连杆;6-动范本;7-定范本;8-顶出油缸;
(2)直压式合模
此种结构的特点是其开关模动作及锁模动作都是通过油缸直接作用完成的。移模速度和合模力的大小分别由活塞杆的移动速度和活塞产生的最大轴向力确定。

图10 直压式合模装置示意图
1-上范本;2-拉杆;3-下范本;4-锁模油缸;5-移模油缸;6-电子尺;7-底板
这种结构的工作原理是:开关模时,移模油缸5进油,推动活塞杆,从而带动拉杆及动范本运动,实现开关模动作;进入锁模状态后,锁模油缸4进油,在油的推力作用下产生大的锁模力,通过锁模油缸活塞杆对底板7的力的作用而压紧模具,实现锁模。
(3)直压式与肘杆式的比较
① 直压式合模力F = P油缸×S油缸,故调节合模力较容易,但压力确定后,如PMAX=140Kg/cm2,故不允许超载。而肘杆式注塑机是通过连杆机构的力扩大以后产生的,故通常情况下可以超载10%以上。
② 由于结构关系,通常情况下直压式的容模量大于肘杆式,特别适用于深容器产品。
③ 肘杆式刚性比直压机刚性好,因为高压锁模时,肘杆式是全部铸钢变形后产生的,合模力当刚要超载时,因为液压油与铸钢的弹性模量差10倍左右,故同样要产生飞边情况下,肘杆式注塑机产生的飞边要小得多。
④ 肘杆式注塑机由于合模力是通过力的放大作用产生的,且高压锁模后,在注射、保压过程中可卸压,而直压式在注射、保压过程中始终高压保持,且直压式合模油缸直径远大于肘杆式,故肘杆式较省电。
⑤ 肘杆式合模机构都是通过连杆机构产生合模力,故要有高的模板平行度及长的寿命,其所要求的加工精度较高,且零件较多,成本较高。而直压式是通过合模大油缸产生合模力,帮其密封存要求较高,随着时间的推移,较易磨损,产生泄漏后,合模力会下降。
2.合模架的组成
合模架是合模部件的基础部分,主要由4根拉杆、后模板、动模板、定模板及拉杆螺母组成的具有一定刚度和强度要求的合模框架。动模板在移模装置的驱动下,以拉杆以导向,实现启闭模运动。因此,4根拉杆与3块模板的材料、结构尺寸,拉杆之间的平行度与3块模板垂直度都有较高的要求。
1)范本
后模板、动模板和定模板是合模部分的重要零件,后模板和头板通过拉杆组成合模框架(立式机是底板和动范本形成合模框架)。锁模后,动、定范本在锁模力的作用下,将模具锁紧并使其产生压缩变形,与此同时,3块范本将发生弯曲变形,范本中部将产生挠度。模板的结构,尺寸,材料,弹性模量将直接影响合模系统的强度、刚性,最终影响到锁模力。
2)拉杆
拉杆又叫格林柱,拉杆是合模装置的又一主要零件,除与模板组成刚性框架外,还兼有导柱功能,使二板在上滑动,因此要求有较高的几何精度、尺寸精度、4根拉杆的同步精度、光洁度及耐磨性能。而且合模系统作用时拉杆受到非对称循环应力的作用,将受疲劳极限的考验。
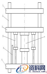
3.调模装置
如图11所示,调模装置主要由液压马达、齿圈、定位轮、调模螺母的外齿圈等组成,均固定在后模板上。

图11 调模装置示意图
1-后范本;2-液压马达;3-大齿圈;4-后螺母
调模装置设在后模板上,其动作原理是:当调模时,后范本1连同曲肘连杆机构及动范本一起移,调模时4只带有齿轮的后螺母在大齿轮3驱动下同步转动,推动后范本及其整个合模机构沿拉杆向前或向后移动,调节动模板与前模板的距离,根据允模厚度及工艺所要求的锁模力实现调模功能。此种结构紧凑,减少了轴向尺寸,提高了系统刚性。
各齿轮与齿圈的啮合精度,调整螺母与拉杆端螺纹的配合精度及运行的同步精度,将影响调模的灵活性、调模误差、调模精度。
对于直压式合模机构,动、定模板间的距离可以通过移模油缸活塞杆进行调整,没有专门的调模装置。
4.顶出装置
顶出装置要有足够的顶出力,顶出速度,顶出次数和顶出精度,是在顶出油缸的作用下作顶出动作。
在我厂用的卧式机中,顶出油缸是通过导杆固定在动模板上的。如图12所示,其主要的由顶出油缸和顶出杆组成,油缸为双作用活塞式油缸。

图12 卧式机顶出装置示意图
1-顶出油缸;2-活塞;3-活塞杆;4-导杆;5-顶出板;6-顶出杆;7-动范本;8-电子尺
我厂用的而带有滑板的立式合模机构的顶出油缸是双作用活塞杆式的,其示意图如图13:

图13 立式机顶出装置示意图:
1-滑板;2,5-活塞杆;3-顶出油缸;4-活塞;6-电子尺
在图13中,活塞杆2同时又起顶出杆的作用。
评顺注塑机的顶出油缸是置于锁模油缸内的一个双活塞作用式油缸,其活塞杆同起到顶出杆的作用。
5.合模部件的精度
合模部件的精度要求从合模部件装置分析可知:合模部件装配后置于机架上,应保证与注塑部件中心高度一致或垂直。锁模后动模板与定模板锁紧模具,因此,两模板经调整后应高度平行。为保证锁模力作用在中心在线,要求锁模油缸、调模装置与尾板、二板、头板组成的合模框架的中心线保持一致。3块范本拉杆孔的平等度与其平面的垂直度,各孔的同心度,以及孔本身的尺寸精度及几何精度,对装配精度都将产生重要影响。曲肘连杆机构顶角各孔之间的相对位置精度,孔的同心度,孔与其端面的垂直度,孔本身的尺寸精度,几何精度,对曲肘连杆机构的运动中心与油缸的同心度将产生重要影响。
(三)液压系统
注塑机是机、电、液一体化、集成化和自动化程度都很高。无论是机械液压式还全液压式,液压部分都占有相当的比值,对注塑机的技术性能、节能、环保以及成本占有重要部分。
注塑机液压系统由主回路、执行回路及辅助回路系统组成,如图所示。

图14 油路系统组成图
1,2,3,4,5,6—分别为合模油缸、滑模油缸、顶出油缸、注射座油缸、注射油缸、液压马达;
7,8,9,10,11,12—分别为油缸的控制模块(CU)、指令模块(CM);
13—系统压力(P)、流量(Q)的控制和指令模块;14—泵;15—电机(M);
16—进油过滤器;17—油冷却器; 18—油箱;P—进油管路(高压);T—回油管路。(低压)
油路总管线(P、T、P)的上部分是执行回路系统,下部分是主回路系统及辅助回路系统。
执行回路系统:主要由各执行机构(油缸)和指令及控制装置(电磁阀)组成。其功能是将进入管路P的高压油按程序放到油缸的左腔或右腔中去,推动活塞杆执行动作。高压油进入的时间、顺序和位置是通过电磁换向阀来实现的,工作指令通过电信号发给电磁阀的电磁铁,控制其阀芯动作,将控制油路(P)的高压油,进入换向阀推动阀芯动作,将高压油接通到油缸中去;而各油缸中的回油经回油管路T及辅助油路系统放回油箱。
主回路系统:由动力源和控制模块组成。动力源系统(电机、油泵)产生油压(P)和流量(Q),与指令(CU)及控制(CM)模块(压力阀、流量阀等)组成回路。从泵来的高压油,进入主管路的时间、顺序、压力及流量,是通过流量阀,压力阀是电磁铁获得,指令的时间、顺序和强弱,由控制其阀芯的推力和开度来确定的。
执行回路与主回路之间是通过进油管路P(高压),回油管路T(低压)以及控制回路P(高压)形成“连接网络”。
1.主要液压组件
注塑机应用液压组件非常广泛。
⑴.动力组件
由电机带动泵实现电能—机械能—液压能的转换。有各种油泵和液压马达。
油泵是靠封闭容腔使其容积发生变化来工作的。理想的泵是没有的,因为结构上总会有制品缝隙就会有泄漏,而且机械磨损也会产生间隙,所以就要考虑泵的效率。不同质量的泵,其效率是不同的,直接影响了液压系统工作的稳定性。此外,油的压缩性也会对泵的效率产生影响。
(2).执行组件
执行组件是将液压能转换为机械能的组件,主要有油缸和油马达。
① 油缸
油缸可分为单作用柱塞式、双作用活塞式、双作用活塞杆式和双作用伸缩式油缸。

图15 油缸的简图 :(a)双作用活寒式; (b) 双作用活塞杆式
② 液压马达
液压马达是液压能转换成轴的扭矩和转速的设备。通过油压控制轴的输出扭矩;通过输入流量控制轴的输出转速。
(3)控制组件
控制组件主要是指各种控制阀,如压力阀、流量阀、方向阀、比例阀、伺服阀等。
我厂用注塑机中,除背压是通过注意溢流阀控制的外,其余的压力和流量的控制是通过比例压力流量复合调节阀控制的,没有流量阀。
(ⅰ)方向阀方向控制阀是控制系统油的流动方向,按程序来改变执行机构的运动方向的控制组件。方向阀有单向阀、电磁换向阀和电液换向阀。
①.单向阀
单向阀允许油沿一个方向流动,不能反向流动。
单向阀要求:油流过时,阻力小,对反向流动密封性好;动作灵敏,无撞击和噪声。
②.电磁换向阀
电磁换向按程序由电磁换得失信号推动阀芯动作实现油路换向。有三位四通和二位四通阀之分。我们设备中控制注射、合模、移模、座移等用的都是电磁换向阀。
(ⅱ)比例阀
比例阀是以输入电信号连续地按比例控制与调节系统流量、压力、方向的控制阀。
比例阀有比例压力阀、比例流量阀、比例方向阀、比例压力流量阀等。我们设备中用到的是比例压力流量复合阀。
比例压力流量阀是一种溢流阀,其功能为执行组件提供所需的压力和流量,根据负载压力,使压差保持最小,控制泵的压力,并控制流量稳定不受温度的影响。
(ⅲ)溢流阀
当系统或局部压力超过弹簧调整值时,阀芯自动开启,把压力流接回油箱。
(4)辅助组件
辅助组件虽然只起辅助作用,但是辅助组件质量会影响系统的功能。辅助组件有油箱、油管和接头、冷却器、滤油器、压力表、润滑注油器等。
① 油管和接头
用适当的油管和接头将各液压组件和辅件,以及测量仪表连接起来能组成完整的液压系统。对于液压装置,要求管道和接头有足够的强度和耐压储备,使用可靠,装拆方便,在输送工作介质时能量损失要小。
油管有硬管和软管之分。硬管适用于两个相互固定组件的连接,在装配时不能任意弯曲,能承受较高的压力且牢固可靠,压力损失小。软管可以做两个相对变位组件的管道连接,或常更换组件与液压系统的连接。软管装配方便,不怕振动,并能部分地吸收液压系统的冲击,但沿程压力损失比硬管大。
为了减少输油的压力损失,管道和接头的通油截面应尽可能大些,内壁要光滑,避免方向和截面的急剧变化,减少局部压力损失。
② 滤油器
滤油器的功能是将上游管路中存在的固体颗粒等异物,经滤芯被阻留,使下游管路油降低污

染程度,达到要求指标。
我厂用注塑机中用到的是网式滤油器,如图16所示,在骨架上包铜网,此类滤油器通油能力强。铜网的疏密程度用“目”来表示。目数越大表示铜网越密,即能通过铜网的颗粒尺寸越小,液压油所含杂质也就越少。
③ 冷却器
液压系统的功率损失,几乎全部变成热能使油温升高,油黏度下降,泄漏加重,容积效率降低。
减少油液温升的措施,应采用高效率液压组件和合理设计系统,减少系统的功率损失,其次要使热量尽量散发。常用水式冷却器对液压油进行冷却。
(5)液压油
液压油是液压传动系统的工作介质,液压油的黏度将直接影响液压系统中压力和流量的准确性、液压系统的稳定性和泄漏量。液压油的黏度随温度升高而降低。所以,油温高会影响油的黏度使系统产生气泡,增加泄漏量,导致系统压力和流量的波动,使进入各执行机构的流量和压力发生波动,引起各种压力和速度的不稳定,造成生产过程的不稳定性,最终影响制品的成型质量。
油的压力也会影响油的黏度,当油的压力增加时,分子间距减小,黏度随压力而升高,但是数值变化微小。
所以,当环境温度高时,应采用高黏度油;反之,应采用低黏度油。
2.液压系统分析
在液压系统执行回路中,根据主油路和各执行油缸的功能,液压组件在液压系统上可组成控制模块,以提高系统的集成度。注塑机控制油路的模块有:压力/流量控制模块(P/Q油路块)、注射/预塑控制模块、合模控制模块、顶出控制模块。
(1) 压力/流量控制模块(P/Q油路块)
主要控制系统在整个工作周期中,各程序系统中油的压力(P)和流量(Q),对各执行机构的速度和推力的大小及程序进行控制。
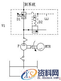
我们设备中用的是定量泵+比例压力流量阀控制回路,如图17所示,由比例压力流量阀V1、泵P、电动机MTR组成。D1、D2分别是控制流量和压力的电磁铁,当电动机启动后,泵就输出一定的流量,此时D1、D2无电信号输入,泵输出流量通过V1流回油箱,系统压力为零;如D1、D2有电信号输入,则V1开始工作,部分油通过比例阀所设定的开启压力,比例溢流阀打开,把多余的油放回油箱。只要改变D1、D2电信号的输入值,就可实现对系统的压力和速度调节。


图17 压力/流量控制回路图 图18 注射/预塑控制模块
(2)注射/预塑控制模块
该模块主要是对注射/射退、预塑、射台前进/后退、背压的动作和程序进行控制。
如图18所示,由三位四通电磁换向阀V1控制座移油缸的前进/后退;三位四通换向阀V2控制注射/射退;二位四通换向阀V3控制预塑,溢流阀V4控制预塑背压。P—压力,T—回油。
其工作原理是:当电磁铁D1、D2无信号输入时,油口封闭,注射座保持原位。当D1得电信号时,压力油经V1进入座移油缸的杆腔,从另腔排出的油经V1至回油T推动活塞实现射台后退动作。当电磁铁D2得信号时,压力油经V1进入座移油缸的无杆腔,从另腔排出的油经V1至回油推动活塞实现射台前进动作。
当电磁铁D3、D4、D5无信号输入时,油口封闭,螺杆保持原位。当D3得电信号时,压力油经V2进入注射油缸的无杆腔,从另腔排出的油经V2到回油T,推动活塞实现射退动作。当D4得电信号时,压力油经V2进入注射油缸的杆腔,从另腔排出的油经V2到回油T,推动活塞实现注射动作。
当D5得电信号时,压力油经V3进入预塑马达的压力油腔,从回油腔排出的油直接到回油T,使马达旋转,实现预塑动作。同时,注射油缸的无杆腔油经V2到回油T,另腔油经V4至回油。调节V4可对螺杆后退速度实施调节。
(3)合模控制模块
该模块主要是对合模、模具低压保护、高压锁模、开模动作和程序进行控制。其工作原理类似于注射/预塑控制模块。
(4)顶出控制模块
该模块主要对顶出、顶退、模具抽芯的动作和程序的控制。其工作原理类似于注射/预塑控制模块。
3.对液压系统的要求
(1) 注塑机从关模开始到开模结束,中间经过关模慢——快——慢——低压保护——高压锁模——注射座前进——多级注射——多级保压——预塑——冷却定型——开模慢——快——慢——顶出等多动作程序。每个程序中又都有对压力和速度的不同要求,即:动作中的不同时刻或不同位置,流量和压力是瞬时的、多级变化的,所以对注塑机液压系统及其组成液压组件的灵敏性、可靠性、静音性和安全性都有很高的要求。
(2)注塑充模质量决定制品质量,而充模质量与液压系统结构有直接关系,在充模时,螺杆前部所形成的聚合物黏流态系统与螺杆后面通过注射油缸与油路系统形成了一个封闭流体阻力系统。充模速率受到油路系统参量、介质、黏度、系统结构及其液压刚性等影响。所以,液压系统水平与注塑质量密切相关。
(四)控制系统
控制系统是注塑机的“神经中枢”系统,控制各种程序动作,实现对时间、位置、压力、速度和转速等的控制与调节,由各种继电器组件、电子组件、检测组件及自动作仪表所组成。控制系统与液压系统相结合,对注射机的工艺程序进行精确而稳定的控制与调节。
控制系统的质量将直接影响产品的成型质量,例如对合模速度、低压模保、及模具锁紧力的控制,将影响产品的成型周期、可靠的低压模具保护、准确的开模定位等。另一个需要精确控制的是影响注射工艺条件的注射速度、保压压力、螺杆转速及料筒的温度等。
1.开、闭环控制
实现注塑机自动控制的方法分为两大类:第一类顺序控制,即:开环控制;第二类回馈控制系统,即死循环控制。我厂注塑机的对速度和压力的控制采用的是开环控制方式;对位移和温度的控制则是死循环控制方式。
(1)开环控制
如系统输出量不与指定输入相比较,系统的输出与输入量之间不存在回馈通道,此种称开环控制,如图19所示。此控制系统结构简单、组件少、成本低、系统容易稳定。由于不对被控量进行检测,当系统受干扰时,被控量一旦偏离原有的平衡状态,再没有消除这种偏关的功能,限制了系统的应用。
开环控制系统中,当被控制对像给以设定值之后,则系统就会使被控制量(压力、速度、转速、位移)得到实际值,并能经仪表显示出来。但是由于各种环境因素的干扰,会使系统的给定值与实际值之间产生偏差,但无须再重新修正这个偏差,即系统自身对此偏差无调节作用。

图19 开环控制系统框图
(2)闭循环控制
把系统被控制量回馈到输入端,并与指定输入相比较,此为死循环控制,由于存在被控制量经回馈环节至比较点的回馈通道,又称回馈控制,如图20所示。死循环控制系统的特点是:连续地对被控量检测,把测得的实际值提前回馈到始端与给定值进行比较,将所得到的偏差信号经控制器的变换运算和放大器的放大,对控制对象发出新的控制信号,使被控量按照指定输入的要求去变化。受内部和外部信号干扰时,通过死循环控制,能自动地消除或削弱干扰信号对被控对象的影响,有抗扰动功能。

图20 死循环控制系统框图
2.控制系统的组成
(1)检测系统电器
我厂的注塑机具有检测系统电器有行程开关、电子尺、热电偶等。
(ⅰ)行程开关
行程开关(限位开关)是以机械动作发出控制指令的主令电器。用于控制运动方向、行程或位置保护。符号:SQ(LS)。
行程开关由操作机构、触头系统和外壳等组成。我们所用的舜展卧式机的位移控制就是此种行程开关。
(ⅱ)接近开关
接近开关(无触点行程开关)代替有触点行程控制和限位保护,也可用于高频计数、液面控制等,具有稳定、可靠、寿命长、定位重复、适应较恶劣的工作条件等优点。符号:PRS
今机立式机利用接近开关控制滑范本的行程。

图21 电子尺工作原理图
(ⅲ)电子尺
电子尺是一种电阻式的位移传感器,有是也称为电阻尺。
符号:POS。
其工作原理是:采用可变电阻分压原理 ,将线位移转换成传感器的电阻变化,并变成电压信号传送。
除舜展卧式注射机外,其它机型都是用电子尺对螺杆位移、模板位移、及顶出杆位移进行检测,从而对运动速度进行控制。
(ⅳ)热电偶
热电偶是温度检测组件,用来对各处温度进行检测。符号是:BT T/C。

其工作原理:将两种不同材料的导体或半导体A和B焊接起来,构成一个闭合回路,当导体A和B的两个执着点之间存在温差时,由于热电效应,两者之间产生电动势,在回路中形成电流。即将工作端置于温度为t的被测介质中,另一自由端在t0的恒定温度下。当工作端的介质温度发生变化时,热电势随之发生变化,将热电势输入显示仪表、记录或关入微机进行处理,获得温度值。
热电势值与热电极本身的长度和直径无关,只与热电极材料的成分及两端的温度有关。
注塑机的料筒温度、喷嘴温度和油温的温度控制,都需要经热电偶检测后送入控制器中。
(2)执行系统电器
注塑机用到的执行机构有:电磁阀线圈、加热线圈、电动机、接触器、报警灯、蜂鸣器等。
(3)逻辑判断及指令形成系统电器
有各种控制器、显示器、按钮、拨码开关、电源器等。
(4)其它系统电器
快速熔断器、变压器、导线、冷却风扇、电流表等。
3.注射速度与注射压力的控制
注塑机的注射速度控制包括两种含意:一个是对螺杆推进物料的速度进行开环或死循环控制;一个是对螺杆推进速度同时进行位置和速度值的多级切换,称多级注射速度切换或控制。同样,注塑机的注射压力控制也包括的是这两种含意:一个是对螺杆推进物料的压力进行开环或死循环控制;一个是对螺杆推进压力同时进行位置和速度值的多级切换,称多级注射速度切换或控制。
我们所用的注塑机对注射压力和速度控制的特点是:用电子尺检测位置信号与通过所设定的位置信号进行比较,将比较信号输入给控制装置,实现在指定位置上的速度切换和压力切换。速度值和压力值通过模拟量或数学量设定输入给控制装置,指令信号经放大输出给比例压力流量阀,实现对流量和压力的控制,从而实现多级注射压力和速度的控制。如图23。

图23 多级注射控制原理图
注射压力的切换有三段,各段的切换是由位置设定和位移传感器通过控制装置来同时切换压力和速度;由射出切换为保压时,既可通过位移设定来切换,也可用时间来切换;保压有二段压力、两段速度,两段间的切换是用时间来切换的,因为进入保压阶段后,螺杆位移量很小,不易控制。
4.温度的控制与调节
(1)料筒温度控制
注塑机料筒温度是注塑工艺的重要参数,是塑化装置的唯一外部供热,因此,料筒的温控技术将直接影响到制品的质量。
我们所用的注塑料筒加热段有三段、四段或五段。注塑机料筒与喷嘴温控的调节是死循环控制方式,即通过热电偶检测与设定值进行比较,从而对加热电阻圈进行控制和调节。
注塑机的温度控制与调节有四种基本形式:我厂注塑机用的是开关控制型式和比例微分积分控制式。
(ⅰ)开关控制(ON/OFF)型式 这种型式的热能转换组件是电阻加热圈,功率的输出状态是开关形式,。图24是开关控制型式的输出状态及其温度特性曲线。
从特性曲线可以看出,这种开关式的温度控制超调量大,温度波动大很不稳定。

图24 开关控制温度特性曲线 图25 PID控制温度曲线
(ⅱ)比例、积分、微分控制(PID)控制型式 是一种根据连续检测温度的偏差信号,提高对温度的控制精度。
由前所述,注塑机的料筒壁较厚,所以,在对料筒温度控制时,就要考虑热电偶检测点的选择问题,因为在不同的检测点上其温度曲线有较大的差异的。如26图所示。

图26 热电偶位置对温度特性曲线的影响
(1)温度检测点安装方式;(2)不同安装位置曲线的比较
曲线1—检测点在料筒表面的温度曲线;曲线2—检测点在料筒深部时的温度曲线;
曲线3—工艺要求曲线
曲线1是热电偶1的温度-时间曲线,反应出温度波动大。但由于检测点与控制点接近,有较高的温控灵敏度。曲线(2)是热电偶的温度-时间曲线,由于料筒热惯性的原因,曲线要比曲线1滞后,但所指示的温度更接近于塑料熔体的实际温度。但是两者均有较大的温度波动,与实际要求的有较大的偏差。
另外,料筒温度的控制还与所选用的热电偶有关,尤其在对温度进行精确控制时,应选用热敏性高、且质量稳定的热电偶。
(2)喷嘴温度的控制与检测
喷嘴温度也是在注塑工艺参数中应特别控制的一工艺参数,由于此处测得的温度更能接近熔体的实际温度,所以对其的控制也日益受到人们的重视。一般情况下采用和料筒温度相同的控制方式,目前,有些厂家用专门测量喷嘴的热电偶对喷嘴温度进行检测。
相对来讲,因喷嘴处料筒壁较薄,热电偶检测点较接近熔体,测得的温度也较料筒温度更接近熔体温度,对成型更具有指导意义。
(3)油温的控制与检测
由前述可知,对液压系统的稳定性和注塑制品质量都有重要的影响。所以一般注塑机都设置有油温检测装置。
在生产中,我厂用冷却水对液压油进行冷却以控制油温,却没有对油温进行检测。但在注塑机操作温度页面中,则有油温检测,由此可见,油温检测是作为注塑机的一种可选功能,我们没有选择此功能。
(五)冷却加热系统
冷却系统主要是指对油温和加料口的冷却,在前面已经做过介绍。加热系统主要是指对料筒的加热,前面也做了介绍。
1;所有标注为智造资料网zl.fbzzw.cn的内容均为本站所有,版权均属本站所有,若您需要引用、转载,必须注明来源及原文链接即可,如涉及大面积转载,请来信告知,获取《授权协议》。
2;本网站图片,文字之类版权申明,因为网站可以由注册用户自行上传图片或文字,本网站无法鉴别所上传图片或文字的知识版权,如果侵犯,请及时通知我们,本网站将在第一时间及时删除,相关侵权责任均由相应上传用户自行承担。
[complaint:内容投诉]
智造资料网打造智能制造3D图纸下载,在线视频,软件下载,在线问答综合平台 » 注塑机原理(图文教程)








