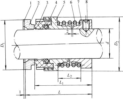
114型机械密封的主要尺寸 (mm)

1—密封垫 2—静止环 3—旋转环 4—密封圈 5—推环 6—弹簧 7—弹簧座 8—紧定螺钉
规格 | d | D1 | D2 | L | L1 | L2 |
16 | 16 | 34 | 40 | 55 | 44 | 11 |
18 | 18 | 36 | 42 | 55 | 44 | 11 |
20 | 20 | 38 | 44 | 58 | 47 | 14 |
22 | 22 | 40 | 46 | 60 | 49 | 16 |
25 | 25 | 43 | 49 | 64 | 53 | 20 |
28 | 28 | 46 | 52 | 64 | 53 | 20 |
30 | 30 | 53 | 64 | 73 | 62 | 22 |
35 | 35 | 58 | 69 | 76 | 65 | 25 |
40 | 40 | 63 | 74 | 81 | 70 | 30 |
45 | 45 | 68 | 79 | 89 | 75 | 34 |
50 | 50 | 73 | 84 | 89 | 75 | 34 |
55 | 55 | 78 | 89 | 89 | 75 | 34 |
60 | 60 | 83 | 94 | 97 | 83 | 42 |
65 | 65 | 92 | 103 | 100 | 86 | 42 |
70 | 70 | 97 | 110 | 100 | 86 | 42 |
免责声明:
1;所有标注为智造资料网zl.fbzzw.cn的内容均为本站所有,版权均属本站所有,若您需要引用、转载,必须注明来源及原文链接即可,如涉及大面积转载,请来信告知,获取《授权协议》。
2;本网站图片,文字之类版权申明,因为网站可以由注册用户自行上传图片或文字,本网站无法鉴别所上传图片或文字的知识版权,如果侵犯,请及时通知我们,本网站将在第一时间及时删除,相关侵权责任均由相应上传用户自行承担。
[complaint:内容投诉]
智造资料网打造智能制造3D图纸下载,在线视频,软件下载,在线问答综合平台 » 114型机械密封(图文教程)
1;所有标注为智造资料网zl.fbzzw.cn的内容均为本站所有,版权均属本站所有,若您需要引用、转载,必须注明来源及原文链接即可,如涉及大面积转载,请来信告知,获取《授权协议》。
2;本网站图片,文字之类版权申明,因为网站可以由注册用户自行上传图片或文字,本网站无法鉴别所上传图片或文字的知识版权,如果侵犯,请及时通知我们,本网站将在第一时间及时删除,相关侵权责任均由相应上传用户自行承担。
[complaint:内容投诉]
智造资料网打造智能制造3D图纸下载,在线视频,软件下载,在线问答综合平台 » 114型机械密封(图文教程)

