采用装配单元-机械结构设计(图文教程)

    采用装配单元的机械结构设计

图           例

说 明

 

采用装配单元-机械结构设计(图文教程),采用装配单元-机械结构设计,结构设计,装配,采用,第1张

不合理

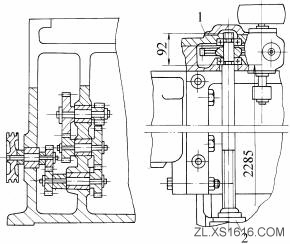
采用装配单元-机械结构设计(图文教程),采用装配单元-机械结构设计,结构设计,装配,采用,第2张

合理

改进后,变速箱和床身一分为二,变速箱作为独立的装配单元,可以单独装配、调整和试验;改进后,轴被分为3、4两段,由联轴器5联结,箱体1成为独立的装配单元

 

采用装配单元-机械结构设计(图文教程),采用装配单元-机械结构设计,结构设计,装配,采用,第3张

不合理

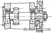
采用装配单元-机械结构设计(图文教程),采用装配单元-机械结构设计,结构设计,装配,采用,第4张

合理

改进前,齿轮大于轴承孔,需在箱内安装。改进后,减小了齿轮直径,轴上零件成为独立的装配单元

 

该文章所属专题:机械结构设计

免责声明:
1;所有标注为智造资料网zl.fbzzw.cn的内容均为本站所有,版权均属本站所有,若您需要引用、转载,必须注明来源及原文链接即可,如涉及大面积转载,请来信告知,获取《授权协议》。
2;本网站图片,文字之类版权申明,因为网站可以由注册用户自行上传图片或文字,本网站无法鉴别所上传图片或文字的知识版权,如果侵犯,请及时通知我们,本网站将在第一时间及时删除,相关侵权责任均由相应上传用户自行承担。
[complaint:内容投诉]
智造资料网打造智能制造3D图纸下载,在线视频,软件下载,在线问答综合平台 » 采用装配单元-机械结构设计(图文教程)